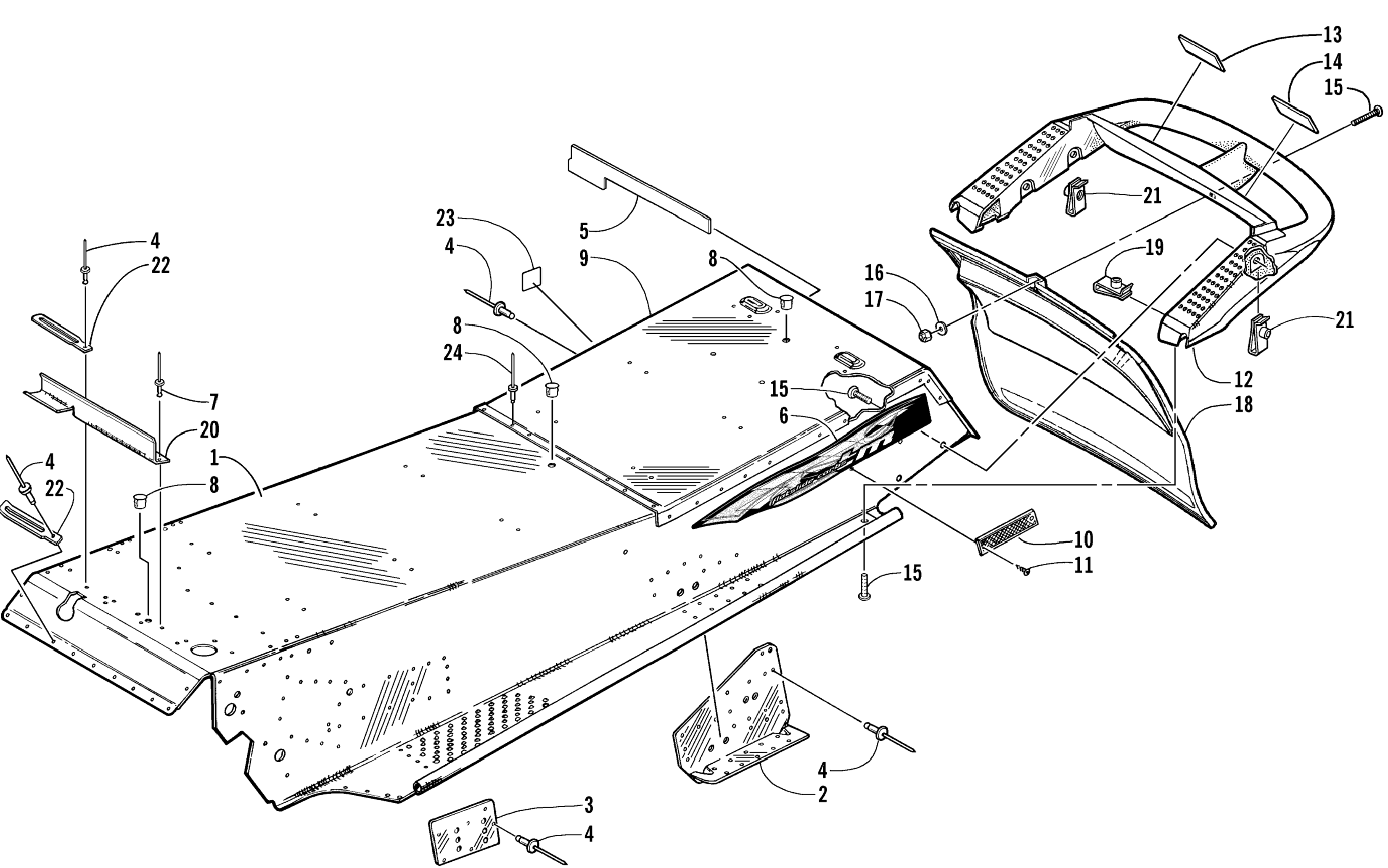
TUNNEL AND REAR BUMPER для Arctic Cat ZR 500 (S2001ZRCCAUSG) 2001 г.

Доставка из США до Москвы 90 руб. за 100 грамм
Доставка
  • Доставка из США, ОАЭ или из Германии в Москву
  • Доставка со складов в Москве
Скидка 5% от суммы заказа более 30 000 руб.
Оплата
  • Наличный способ оплаты
  • Банковской картой Visa, Mastercard
Номер запчасти,
наличие, срок поставки
Наименование Кол-во Цена
1 0718-836 / 45-55 дней Tunnel assembly (inc. 2) 1 109 539 р.
2 1706-078 / 45-55 дней Bracket, suspension mounting - right - rear 1 14 863 р.
2 1706-079 / 45-55 дней Bracket, suspension mounting - left - rear 1 14 861 р.
3 2706-116 / 45-55 дней Plate, body-reinforcement-ptd blk 2 913 р.
5 2611-940 / 45-55 дней Decal, tunnel - rear 1 7 096 р.
6 3611-792 / 45-55 дней Decal, tunnel - right 1 8 078 р.
6 3611-793 / 45-55 дней Decal, tunnel - left 1 8 458 р.
8 0623-562 / 45-55 дней Plug 3 180 р.
9 1606-486 / 45-55 дней Plate, end - rear tunnel 1 13 752 р.
10 0606-029 / 45-55 дней Reflector - red 2 1 570 р.
12 1606-200 / 45-55 дней Bumper, rear 1 14 852 р.
13 1611-567 / 45-55 дней Decal, warning - towing (french) 1 1 438 р.
14 1611-566 / 45-55 дней Decal, warning - towing (english) 1 1 573 р.
18 1606-202 / 45-55 дней Snowflap 1 10 985 р.
18 1606-507 / 45-55 дней Snowflap optional 1 8 458 р.
20 0607-488 / 45-55 дней Bracket, main harness protector 1 1 825 р.
21 0623-771 / 45-55 дней U-nut 4 193 р.
23 0411-053 / 45-55 дней Decal, ce 1 12 001 р.
Список узлов