CARRIER для Honda TRX250 AC 1998 г.

Доставка из США до Москвы 90 руб. за 100 грамм
Доставка
  • Доставка из США, ОАЭ или из Германии в Москву
  • Доставка со складов в Москве
Скидка 5% от суммы заказа более 30 000 руб.
Оплата
  • Наличный способ оплаты
  • Банковской картой Visa, Mastercard
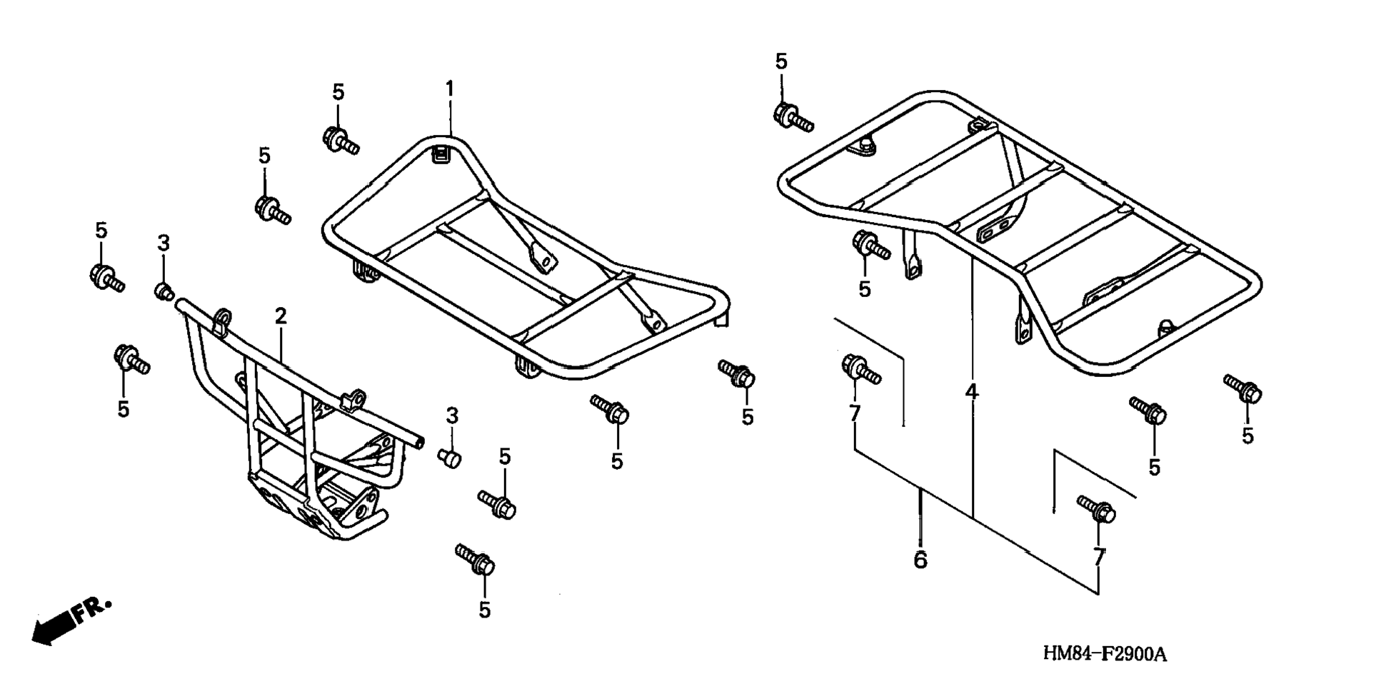
Номер запчасти,
наличие, срок поставки
Наименование Кол-во Цена
1 81100-HM8-000 / 45-55 дней Carrier, fr. luggage 1 48 408 р.
2 81150-HM8-000 Pipe, fr. carrier 1 Узнать цены
3 81155-HM8-000 / 45-55 дней Cap, fr. luggage carrier 2 1 577 р.
4 81300-HM8-305 / 45-55 дней Carrier, rr. luggage 1 42 197 р.
5 95701-08016-07 / 45-55 дней Bolt, flange (8x16) 14 225 р.
Список узлов