Сиденье для Honda TRX300 A 2000 г.

(SEAT)
Доставка из США до Москвы 90 руб. за 100 грамм
Доставка
  • Доставка из США, ОАЭ или из Германии в Москву
  • Доставка со складов в Москве
Скидка 5% от суммы заказа более 30 000 руб.
Оплата
  • Наличный способ оплаты
  • Банковской картой Visa, Mastercard
Номер запчасти,
наличие, срок поставки
Наименование Кол-во Цена
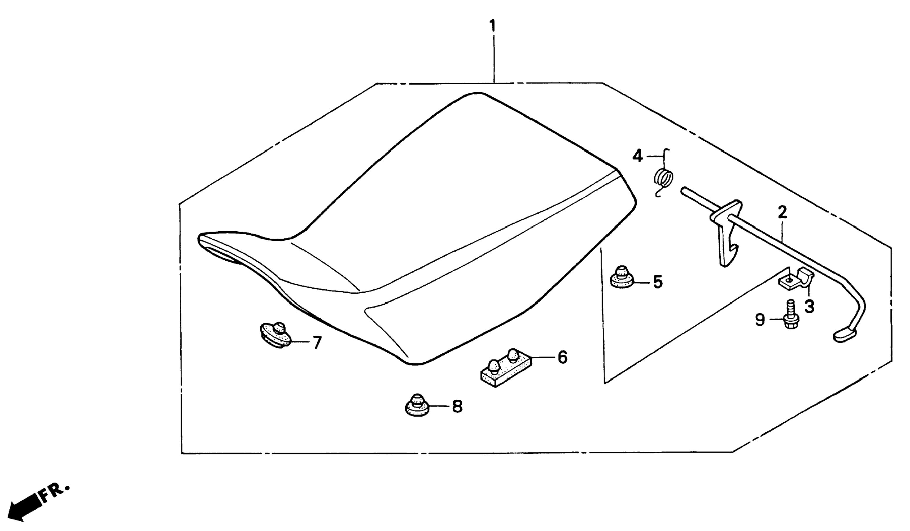
1 77100-HM5-A10ZB / 45-55 дней Seat (type2) 1 15 495 р.
2 77105-HC4-000 Lever, seat lock 1 Узнать цены
3 77106-HB3-000 / 45-55 дней Bracket, lock lever 1 534 р.
4 77107-958-000 / 45-55 дней Spring, seat lock 1 592 р.
5 77201-074-000 / 45-55 дней Rubber, seat cushion 2 565 р.
6 77204-312-000 / 45-55 дней Rubber, seat setting 2 696 р.
7 77211-MB0-000 / 45-55 дней Rubber, seat stopper 2 924 р.
8 77215-GC2-000 / 45-55 дней Rubber b, seat stopper 2 696 р.
9 95701-06012-08 / 45-55 дней Bolt, flange (6x12) 1 205 р.
Список узлов