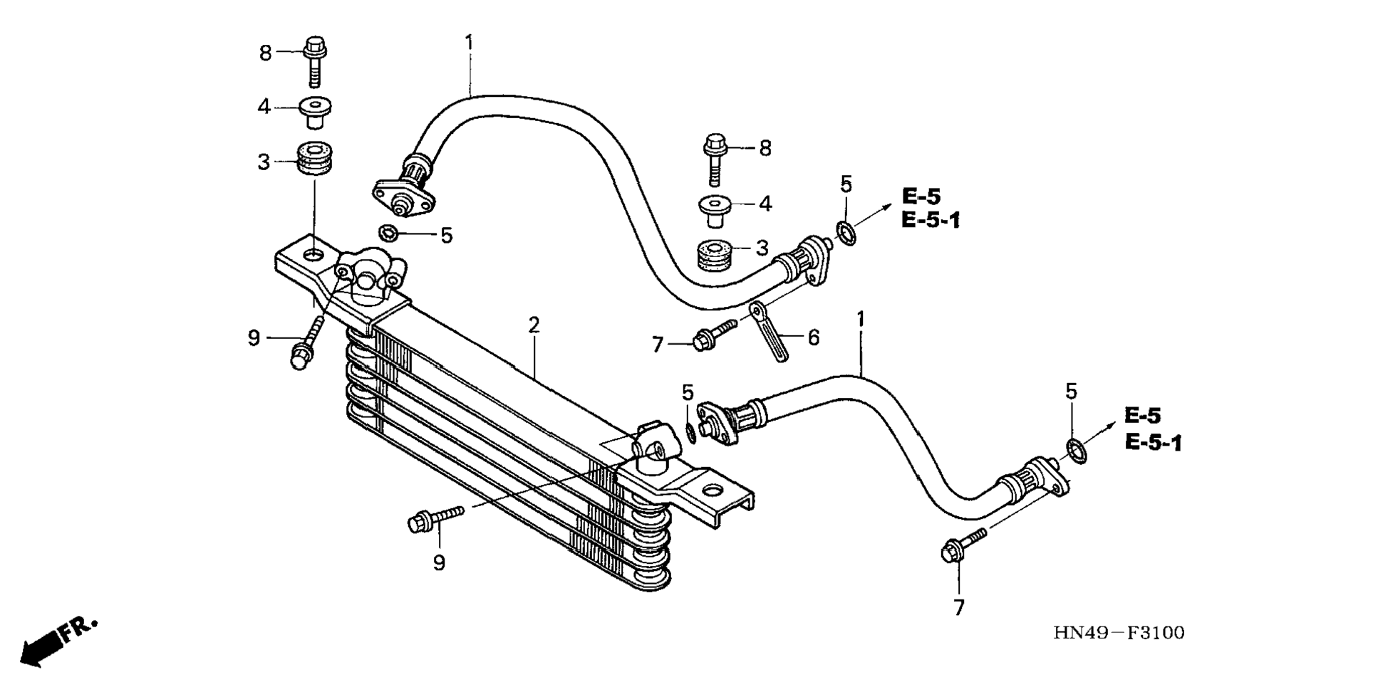
Масляный радиатор для Honda TRX350TM A 2006 г.

(OIL COOLER)
Доставка из США до Москвы 90 руб. за 100 грамм
Доставка
  • Доставка из США, ОАЭ или из Германии в Москву
  • Доставка со складов в Москве
Скидка 5% от суммы заказа более 30 000 руб.
Оплата
  • Наличный способ оплаты
  • Банковской картой Visa, Mastercard
Номер запчасти,
наличие, срок поставки
Наименование Кол-во Цена
1 15520-HN5-N00 / 45-55 дней Hose, oil 2 5 136 р.
2 15600-HM7-610 / 45-55 дней Cooler, oil 1 36 215 р.
3 19051-KA3-830 / 45-55 дней Rubber, radiator mounting 2 455 р.
4 19052-MGH-640 / 45-55 дней Collar, radiator mounting 2 309 р.
5 91314-HN6-000 / 45-55 дней O-ring (11x2.4) 4 232 р.
7 95701-06018-00 / 45-55 дней Bolt, flange (6x18) 2 204 р.
8 95701-06022-00 / 45-55 дней Bolt, flange (6x22) 2 225 р.
9 96001-06020-00 / 45-55 дней Bolt, flange (6x20) 4 155 р.
Список узлов