Топливный насос для Honda TRX420FE 2A 2008 г.

(FUEL PUMP)
Доставка из США до Москвы 90 руб. за 100 грамм
Доставка
  • Доставка из США, ОАЭ или из Германии в Москву
  • Доставка со складов в Москве
Скидка 5% от суммы заказа более 30 000 руб.
Оплата
  • Наличный способ оплаты
  • Банковской картой Visa, Mastercard
Номер запчасти,
наличие, срок поставки
Наименование Кол-во Цена
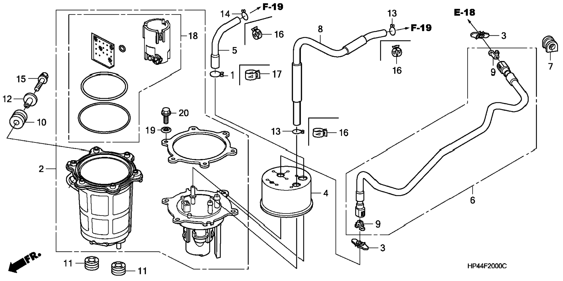
2 16700-HP5-602 / 45-55 дней Pump assy., fuel 1 24 621 р.
3 16719-HN8-A61 / 45-55 дней Rubber, fuel joint 2 292 р.
4 16720-HN8-A60 / 45-55 дней Cover, fuel pump 1 1 180 р.
5 16955-HP5-A10 / 45-55 дней Tube, fuel 1 1 578 р.
6 17570-HP5-A11 / 45-55 дней Hose, fuel feed 1 9 346 р.
7 17579-HP5-600 / 45-55 дней Rubber, fuel feed hose 1 241 р.
8 17683-HP5-A10 / 45-55 дней Tube, vapor 1 2 386 р.
9 17711-S0X-A31 / 45-55 дней Retainer (green) (tokai) 2 463 р.
10 18334-KA3-830 / 45-55 дней Rubber, muffler 1 534 р.
11 19051-KA3-830 / 45-55 дней Rubber, radiator mounting 2 455 р.
12 19052-MGH-640 / 45-55 дней Collar, radiator mounting 1 309 р.
15 95701-06025-00 / 45-55 дней Bolt, flange (6x25) 1 225 р.
16 90651-HN6-A51 / 45-55 дней Clamp, tube (12.0) 3 259 р.
17 95002-41300-05 / 45-55 дней Clamp, tube (d13) 1 149 р.
18 16706-HN8-305 / 45-55 дней Filter set 1 5 574 р.
19 90501-HN8-A60 / 45-55 дней Washer, conical spring 6 149 р.
20 96001-06014-00 / 45-55 дней Bolt, flange (6x14) 6 225 р.
Список узлов