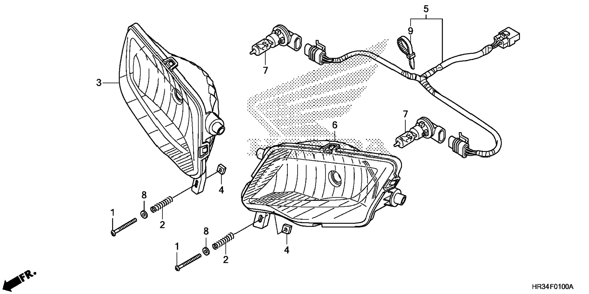
Передняя фара для Honda TRX420FA1 2AC 2014 г.

(HEADLIGHT)
Доставка из США до Москвы 90 руб. за 100 грамм
Доставка
  • Доставка из США, ОАЭ или из Германии в Москву
  • Доставка со складов в Москве
Скидка 5% от суммы заказа более 30 000 руб.
Оплата
  • Наличный способ оплаты
  • Банковской картой Visa, Mastercard
Номер запчасти,
наличие, срок поставки
Наименование Кол-во Цена
1 33103-KAE-770 / 45-55 дней Screw, pan (4x45) 2 153 р.
2 33107-KAE-771 / 45-55 дней Spring, beam adjusting 2 308 р.
3 33110-HR3-A20 / 45-55 дней Headlight unit, r. 1 5 214 р.
4 33117-KBR-730 / 45-55 дней Nut, beam adjusting 2 372 р.
5 33130-HR3-A20 / 45-55 дней Sub-harness, headlight 1 2 367 р.
6 33160-HR3-A20 / 45-55 дней Headlight unit, l. 1 5 214 р.
7 34901-HR3-A21 / 45-55 дней Bulb, headlight (12v 35/35w) 2 2 671 р.
8 94103-04000 / 45-55 дней Washer, plain (4mm) 2 153 р.
9 91551-PNA-003 / 45-55 дней Band, wire harness (172mm) (black) 1 468 р.
Список узлов