Топливный насос для Honda TRX420FM1 AC 2017 г.

(FUEL PUMP)
Доставка из США до Москвы 90 руб. за 100 грамм
Доставка
  • Доставка из США, ОАЭ или из Германии в Москву
  • Доставка со складов в Москве
Скидка 5% от суммы заказа более 30 000 руб.
Оплата
  • Наличный способ оплаты
  • Банковской картой Visa, Mastercard
Номер запчасти,
наличие, срок поставки
Наименование Кол-во Цена
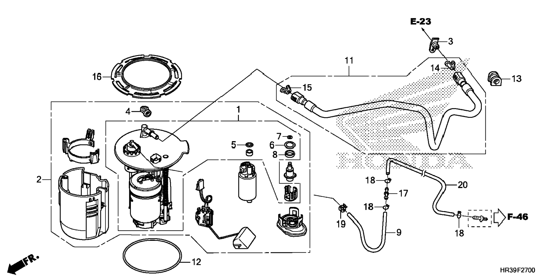
1 16010-HR3-A21 / 45-55 дней Filter set, fuel 1 5 673 р.
2 16700-HR3-A21 / 45-55 дней Pump assy., fuel (msds) 1 24 327 р.
3 16718-HR0-F00 / 45-55 дней Damper, connector 1 149 р.
4 16719-HW1-670 / 45-55 дней Damper, connector 1 3 204 р.
5 17041-S5A-930 / 45-55 дней O-ring 1 1 717 р.
6 17047-SAA-003 / 45-55 дней O-ring 1 9 203 р.
7 17048-SAA-003 / 45-55 дней O-ring 1 483 р.
8 17049-SAA-003 / 45-55 дней Ring, back-up 1 510 р.
9 17521-HR3-A20 / 45-55 дней Tube, tank breather (a) 1 821 р.
11 17570-HR3-A21 / 45-55 дней Hose, fuel feed 1 3 513 р.
12 17574-HR3-A21 / 45-55 дней Gasket, fuel pump 1 638 р.
13 17579-HP5-600 / 45-55 дней Rubber, fuel feed hose 1 241 р.
14 17711-S0X-A31 / 45-55 дней Retainer (green) (tokai) 1 463 р.
15 17711-S0X-003 / 45-55 дней Retainer (orange) (tokai) 1 396 р.
16 17719-HR3-A21 / 45-55 дней Ring, fuel pump locking 1 1 528 р.
17 38562-663-920 / 45-55 дней Joint b, washer tube (mitsuba) 1 1 125 р.
18 95002-02080 / 45-55 дней Clip, tube (b8) 3 225 р.
19 95002-40850-08 / 45-55 дней Clamp, tube (d8.5) 1 317 р.
20 95005-45001-20M / 45-55 дней Bulk hose, vacuum (4.5x1000) (4.5x750) 1 4 949 р.
Список узлов