Стартер для Honda TRX680FA 2AC 2017 г.

(STARTING MOTOR)
Доставка из США до Москвы 90 руб. за 100 грамм
Доставка
  • Доставка из США, ОАЭ или из Германии в Москву
  • Доставка со складов в Москве
Скидка 5% от суммы заказа более 30 000 руб.
Оплата
  • Наличный способ оплаты
  • Банковской картой Visa, Mastercard
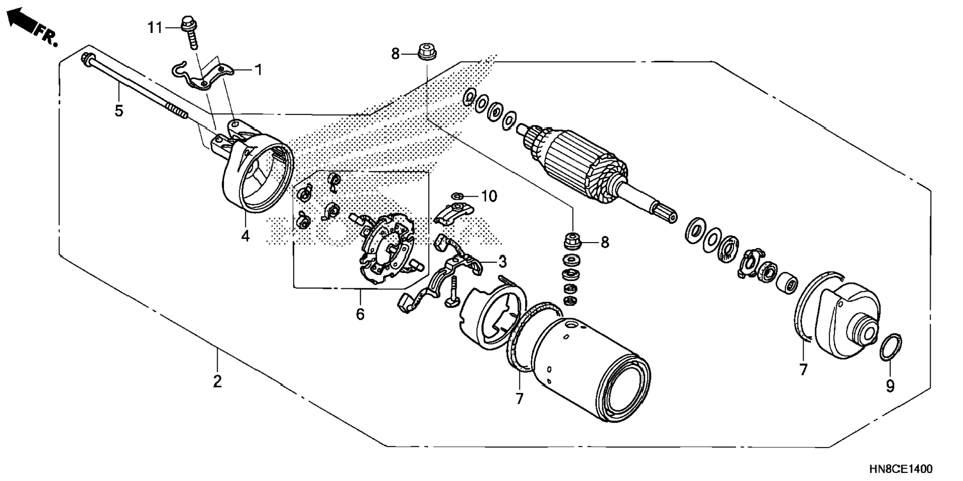
Номер запчасти,
наличие, срок поставки
Наименование Кол-во Цена
1 19315-HN8-A60 / 45-55 дней Clip, hose 1 677 р.
2 31200-HN8-003 / 45-55 дней Starter motor assy. 1 62 955 р.
3 31201-MR6-008 / 45-55 дней Terminal set, brush 1 3 109 р.
4 31203-HN8-000 / 45-55 дней Bracket, rr. 1 2 239 р.
5 31205-MR1-008 / 45-55 дней Bolt, setting 2 726 р.
6 31206-MR6-008 / 45-55 дней Holder set, brush 1 3 267 р.
7 31207-KS5-901 / 45-55 дней Ring 2 428 р.
8 90071-MB0-000 / 45-55 дней Nut-washer (6mm) 2 259 р.
9 91312-MG7-003 / 45-55 дней O-ring (24.4x3.1) (arai) 1 794 р.
10 91320-MB0-000 / 45-55 дней O-ring (4x2) 1 303 р.
11 95801-06025-00 / 45-55 дней Bolt, flange (6x25) 2 173 р.
Список узлов