Навигация
Главная
Основной сайт
Поиск
Ski-Doo
Arctic Cat
Yamaha
Can-Am
Honda
Sea-Doo
Kawasaki
Suzuki
Polaris
BRP Lynx
Harley Davidson
Подобрать запчасти
Главная
Honda
Мотоциклы
1998
GL1500A A
CORNERING LAMP
CORNERING LAMP для Honda GL1500A A 1998 г.
Доставка из США до Москвы 90 руб. за 100 грамм
Доставка
Доставка из США, ОАЭ или из Германии в Москву
Доставка со складов в Москве
Скидка 5% от суммы заказа более 30 000 руб.
Оплата
Наличный способ оплаты
Банковской картой Visa, Mastercard
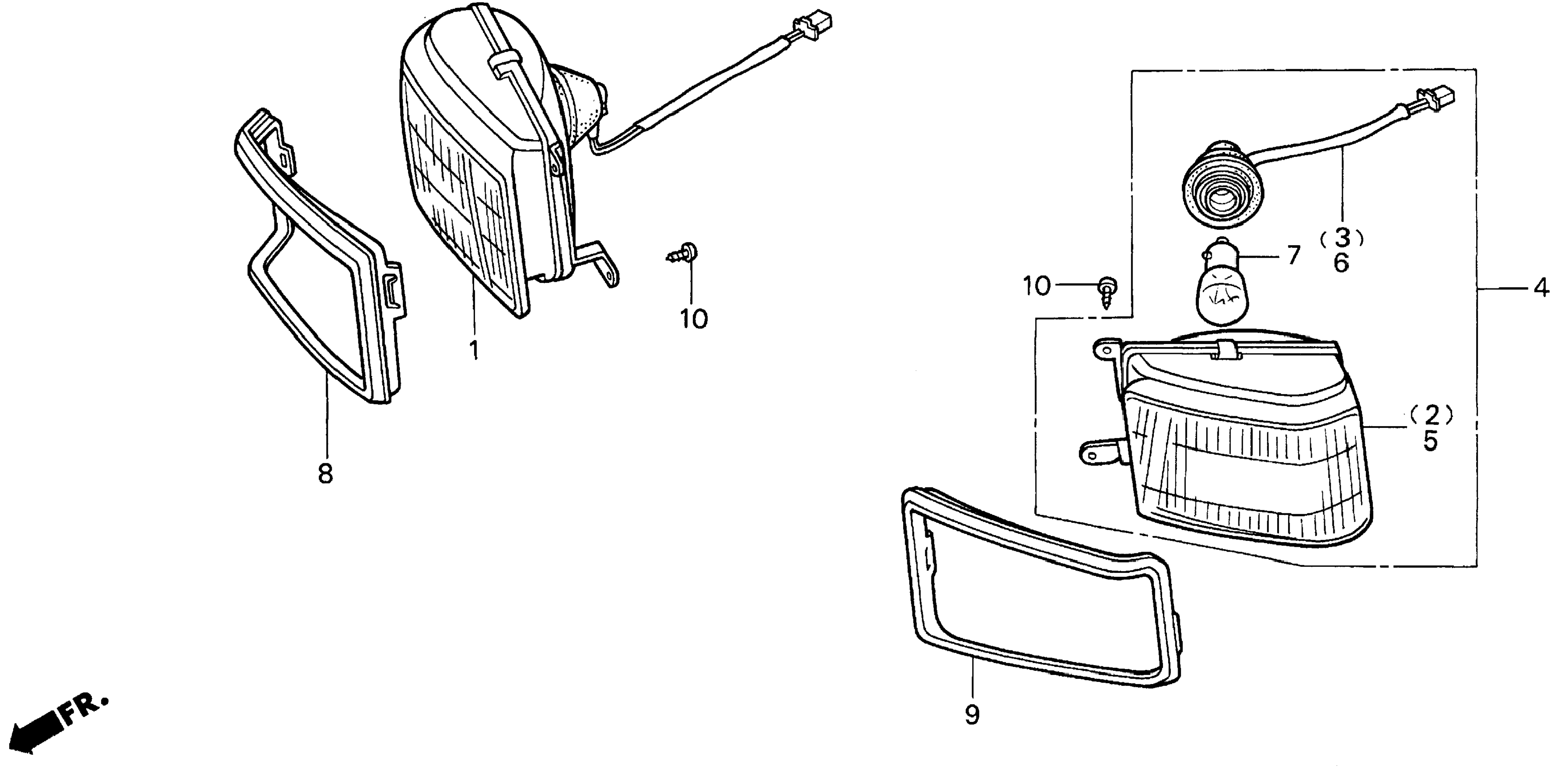
№
Номер запчасти,
наличие, срок поставки
Наименование
Кол-во
Цена
4
33250-MAM-D82
Light assy., l. fr. accessory
1
Узнать цены
Список узлов
Воздушный фильтр
AIR DISTRIBUTOR
AIR DUCT
AIR PUMP
Генератор
Аккумулятор
CAMSHAFT
CARBURETOR ASSY.
CARBURETOR COMPONENTS
CAUTION LABEL (1)
CAUTION LABEL (2)
CHAMBER PROTECTOR
Сцепление
CLUTCH COVER
CLUTCH MASTER CYLINDER
COOLING FAN
CORNERING LAMP
COWL STAY
Коленвал
CRUISE VALVE
CYLINDER BLOCK
Крышка цилиндра
CYLINDER HEAD COVER
ENGINE GUARD
FAIRING
FAIRING SUB HARNESS
FINAL DRIVEN GEAR
FINAL GEARSHAFT
Рамка
FRONT BRAKE CALIPER
FRONT BRAKE MASTER CYLINDER
FRONT COVER
Переднее крыло
FRONT FORK
Переднее колесо
FRONT WHEEL COVER
Топливный бак
GASKET KIT A
GASKET KIT B
GEARSHIFT FORK
HANDLE / SWITCH / CABLES
Руль
Передняя фара
HIGH MOUNT LIGHT
IGNITION COIL
Датчик
METER PANEL
Глушитель
Масляный насос
PAIR SOLENOID VALVE
Педаль
PRIMARY DRIVE GEAR
Радиатор
RADIO CASSETTE
REAR BRAKE CALIPER
REAR BRAKE MASTER CYLINDER
REAR CASE
Заднее крыло
REAR SHOCK ABSORBER
Заднее колесо
RESERVE TANK
REVERSE BAR
REVERSE GEAR
SADDLEBAG
Сиденье
SHELTER
SIDE COVER
Стартер
STEERING STEM
STEP
SWINGARM
TOOLS
Коробка передач
TRANSMISSION COVER
TRUNK BOX
TRUNK LIGHT
TUBING (1)
TUBING (2)
WATER PIPE
Помпа
WINDSCREEN
WIRE HARNESS