Компоненты ГРМ для Honda CBR1100XX A 2003 г.

(CAM CHAIN)
Доставка из США до Москвы 90 руб. за 100 грамм
Доставка
  • Доставка из США, ОАЭ или из Германии в Москву
  • Доставка со складов в Москве
Скидка 5% от суммы заказа более 30 000 руб.
Оплата
  • Наличный способ оплаты
  • Банковской картой Visa, Mastercard
Номер запчасти,
наличие, срок поставки
Наименование Кол-во Цена
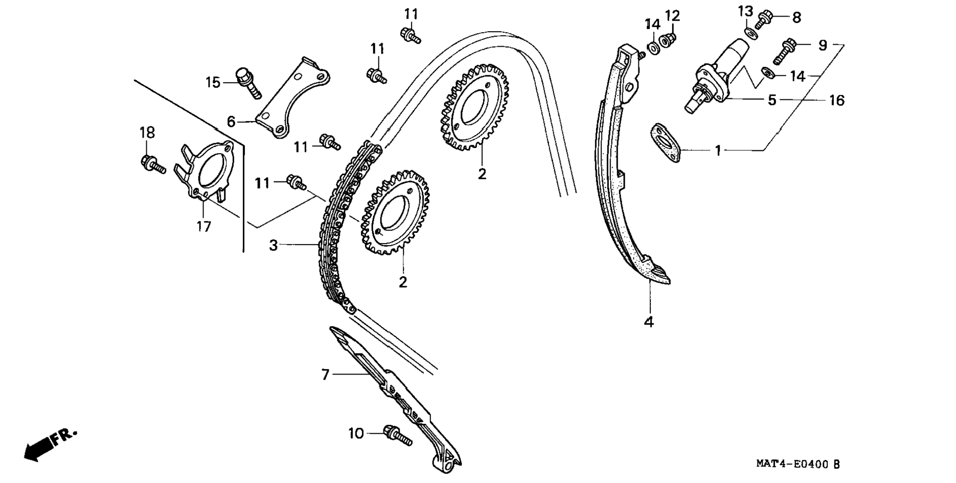
1 14523-MAL-A01 / 45-55 дней Gasket, tensioner hole 1 381 р.
2 14321-MAT-E20 / 45-55 дней Sprocket, cam (34t) 2 8 058 р.
3 14401-MAT-003 / 45-55 дней Chain, cam (130l) (borg warner) 1 17 017 р.
4 14510-MAT-000 / 45-55 дней Tensioner, cam chain 1 15 916 р.
5 14520-MAT-E22 / 45-55 дней Lifter assy., tensioner 1 12 775 р.
6 14546-MAT-000 Guide b, cam chain 1 Узнать цены
7 14620-MAT-E00 Guide a, cam chain 1 Узнать цены
8 90004-GHB-600 / 45-55 дней Bolt, flange (6x10) (nshf) 1 427 р.
9 96600-06025-00 / 45-55 дней Bolt, socket (6x25) 2 235 р.
10 90021-MM5-000 / 45-55 дней Bolt-washer (6x12) 1 705 р.
11 90082-HA0-000 / 45-55 дней Bolt, flange knock (7x10.5) 2 244 р.
12 90201-415-000 / 45-55 дней Nut, cap (6mm) 1 269 р.
13 90442-397-000 / 45-55 дней Washer, sealing (6mm) 1 308 р.
14 90463-ML7-000 / 45-55 дней Washer, sealing (6.5mm) 3 385 р.
15 95701-06014-00 / 45-55 дней Bolt, flange (6x14) 2 149 р.
17 14405-MAT-E00 / 45-55 дней Rotor, pulse 1 2 929 р.
18 90086-MZ8-H00 / 45-55 дней Bolt, special flange (7x13) 2 409 р.
Список узлов