Переднее крыло для Honda VF750C AC 2003 г.

(FRONT FENDER)
Доставка из США до Москвы 90 руб. за 100 грамм
Доставка
  • Доставка из США, ОАЭ или из Германии в Москву
  • Доставка со складов в Москве
Скидка 5% от суммы заказа более 30 000 руб.
Оплата
  • Наличный способ оплаты
  • Банковской картой Visa, Mastercard
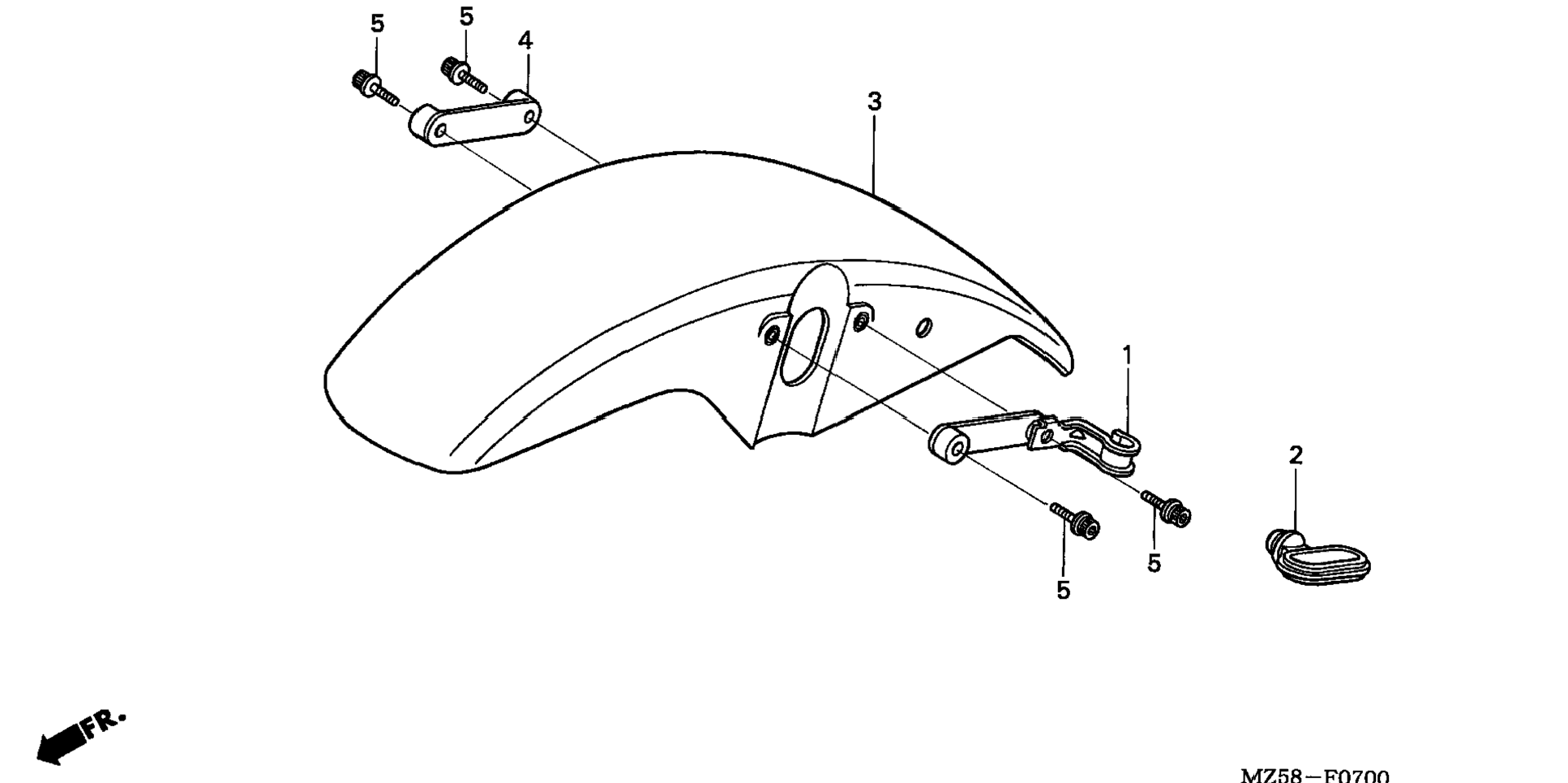
Номер запчасти,
наличие, срок поставки
Наименование Кол-во Цена
1 45158-MZ5-000 Clamp b, brake hose 1 Узнать цены
2 45451-473-000 / 45-55 дней Guide, fr. fender cable 1 901 р.
3 61100-MZ5-000YD Fender, fr. *pb215c* (candy tahitian blue) 1 Узнать цены
4 61103-MZ5-000 / 45-55 дней Plate, fr. fender 1 2 191 р.
5 90080-MG8-000 / 45-55 дней Bolt, flange socket (6x25) 4 534 р.
Список узлов