| № | Номер запчасти, наличие, срок поставки |
Наименование | Кол-во | Цена |
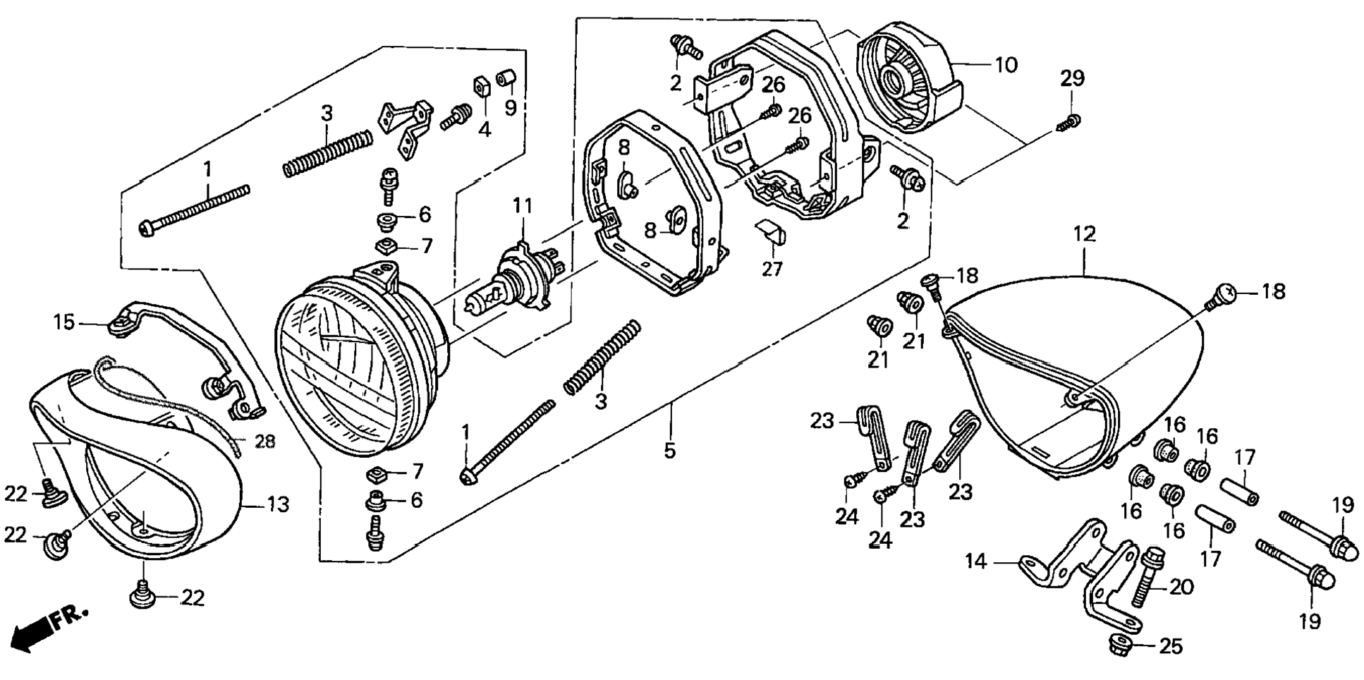
| 1 | 33103-MM2-003 / 45-55 дней | Screw, beam adjusting | 2 | 338 р. |
| 2 | 33104-MAH-671 / 45-55 дней | Screw-washer | 2 | 552 р. |
| 3 | 33107-MK7-671 / 45-55 дней | Spring, beam adjusting | 2 | 522 р. |
| 4 | 33118-438-841 / 45-55 дней | Nut, beam adjusting | 2 | 280 р. |
| 5 | 33120-MEA-671 / 45-55 дней | Headlight unit | 1 | 42 058 р. |
| 6 | 33127-MAA-A31 / 45-55 дней | Spacer | 2 | 318 р. |
| 7 | 33128-GE8-671 / 45-55 дней | Nut, unit holder | 2 | 504 р. |
| 8 | 33128-MAH-671 / 45-55 дней | Nut, special | 2 | 475 р. |
| 9 | 33136-426-830 / 45-55 дней | Cover, screw | 2 | 232 р. |
| 10 | 33180-MR7-003 / 45-55 дней | Cover, rubber | 1 | 1 871 р. |
| 11 | 34901-MC7-601AH / 45-55 дней | Bulb, headlight (12v 60/55w) (stanley) | 1 | 4 941 р. |
| 11 | 34901-MC7-602 / 45-55 дней | Bulb, headlight (12v 60/55w) (stanley) | 1 | 4 941 р. |
| 12 | 61301-MCH-670 / 45-55 дней | Case, headlight | 1 | 10 941 р. |
| 13 | 61302-MCH-670 / 45-55 дней | Rim, headlight | 1 | 6 631 р. |
| 14 | 61311-MCH-670 / 45-55 дней | Stay, headlight | 1 | 24 478 р. |
| 14 | 61311-MCH-B70 / 45-55 дней | Stay, headlight | 1 | 24 478 р. |
| 15 | 61312-MEA-670 / 45-55 дней | Stay a, headlight | 1 | 5 797 р. |
| 16 | 61315-MK7-000 / 45-55 дней | Rubber, headlight mounting | 4 | 408 р. |
| 17 | 61316-MK7-000 / 45-55 дней | Collar, headlight stay | 2 | 408 р. |
| 18 | 90104-KZ3-B00 / 45-55 дней | Screw, special (5mm) | 2 | 537 р. |
| 19 | 90132-MCH-000 / 45-55 дней | Bolt, cap (6mm) | 2 | 366 р. |
| 20 | 90183-438-000 / 45-55 дней | Bolt, special flange (8x26) | 2 | 668 р. |
| 21 | 90201-425-700 / 45-55 дней | Nut, cap (6mm) | 2 | 583 р. |
| 22 | 90380-GE2-760 / 45-55 дней | Screw, special (5x9.5) | 3 | 321 р. |
| 23 | 91411-679-000 / 45-55 дней | Clip | 3 | 2 027 р. |
| 24 | 93903-44210 / 45-55 дней | Screw, tapping (4x10) | 4 | 149 р. |
| 25 | 94050-08000 / 45-55 дней | Nut, flange (8mm) | 2 | 149 р. |
| 26 | 93901-34320 / 45-55 дней | Screw, tapping (4x12) | 2 | 149 р. |
| 27 | 33126-MEA-650 / 45-55 дней | Tape, protector | 1 | 387 р. |
| 28 | 61303-MEA-670 / 45-55 дней | Rubber, sponge | 1 | 428 р. |
| 29 | 93903-24380 / 45-55 дней | Screw, tapping (4x12) | 2 | 149 р. |