Карбюратор для Honda XR50R A 2003 г.

(CARBURETOR)
Доставка из США до Москвы 90 руб. за 100 грамм
Доставка
  • Доставка из США, ОАЭ или из Германии в Москву
  • Доставка со складов в Москве
Скидка 5% от суммы заказа более 30 000 руб.
Оплата
  • Наличный способ оплаты
  • Банковской картой Visa, Mastercard
Номер запчасти,
наличие, срок поставки
Наименование Кол-во Цена
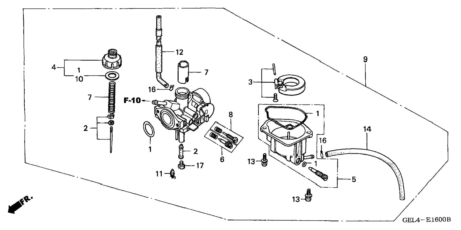
1 16010-181-305 / 45-55 дней Gasket set 1 2 715 р.
2 16012-GEL-701 / 45-55 дней Needle set, jet 1 3 936 р.
3 16013-147-004 / 45-55 дней Float set 1 5 932 р.
4 16014-181-831 Top set 1 Узнать цены
5 16015-099-691 / 45-55 дней Chamber set, float 1 12 019 р.
6 16016-GEL-701 / 45-55 дней Screw set 1 1 706 р.
7 16022-GW8-672 / 45-55 дней Valve set, throttle 1 5 083 р.
8 16028-GC8-004 / 45-55 дней Screw set b 1 2 172 р.
9 16100-GEL-702 / 45-55 дней Carburetor assy. (pa42a a) 1 22 064 р.
10 16110-181-831 / 45-55 дней Gasket, top 1 617 р.
11 16155-883-005 / 45-55 дней Valve, float 1 2 673 р.
12 16199-GEL-701 / 45-55 дней Tube, air vent 1 622 р.
13 93892-04012-08 / 45-55 дней Screw-washer (4x12) 1 149 р.
13 93892-04012-18 / 45-55 дней Screw-washer (4x12) 2 149 р.
14 16198-GEL-701 / 45-55 дней Tube 1 650 р.
16 95002-02659 / 45-55 дней Clip, tube (b6.5) 2 149 р.
17 99101-187-0580 / 45-55 дней Jet, main (#58) 1 1 113 р.
Список узлов