TOOLS для Honda XR80R A 2003 г.

Доставка из США до Москвы 90 руб. за 100 грамм
Доставка
  • Доставка из США, ОАЭ или из Германии в Москву
  • Доставка со складов в Москве
Скидка 5% от суммы заказа более 30 000 руб.
Оплата
  • Наличный способ оплаты
  • Банковской картой Visa, Mastercard
Номер запчасти,
наличие, срок поставки
Наименование Кол-во Цена
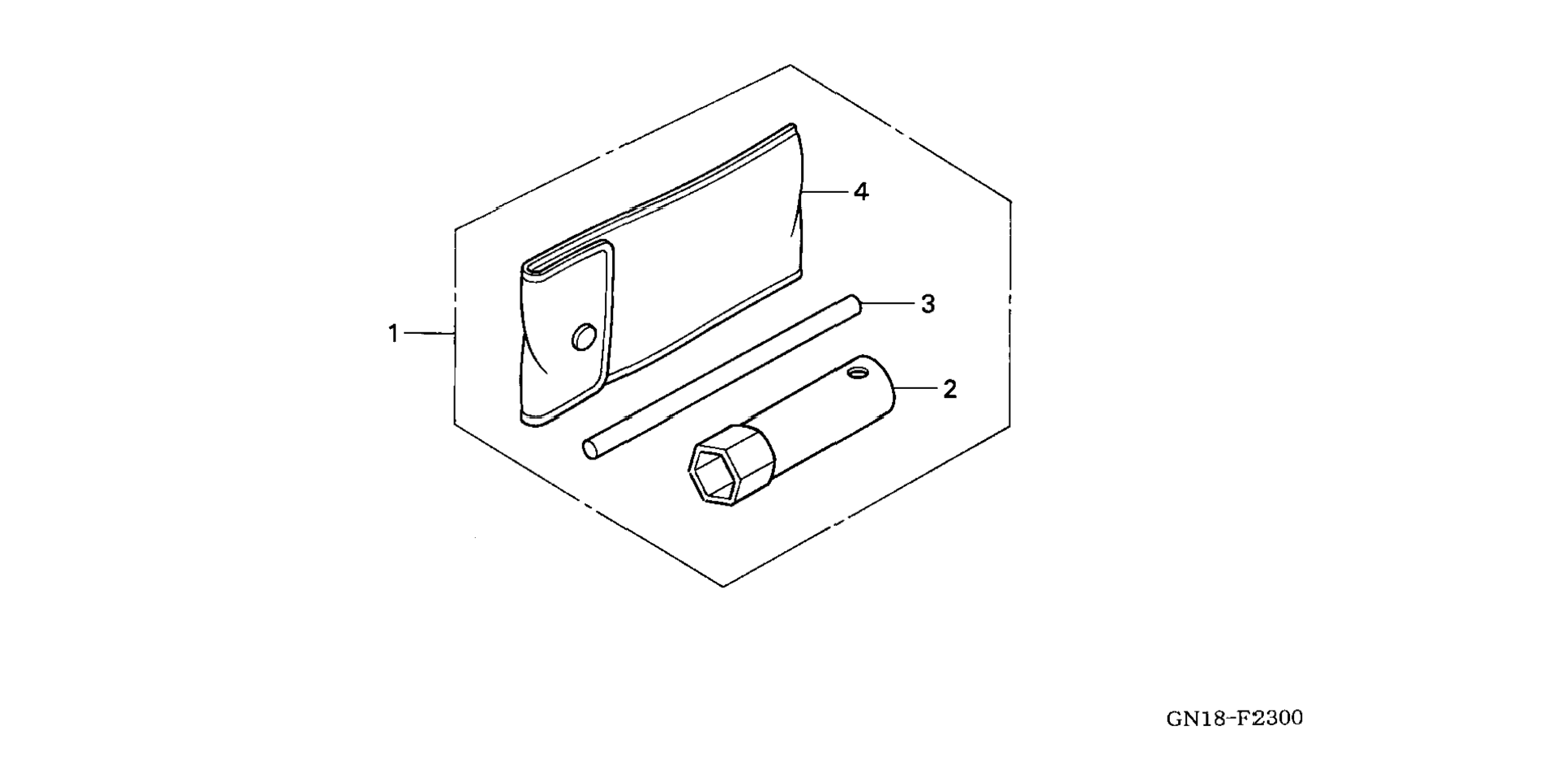
1 89010-153-000 Tool set 1 Узнать цены
2 89216-045-010 / 45-55 дней Wrench, spark plug 1 845 р.
3 89217-045-670 / 45-55 дней Bar, handle 1 681 р.
4 99008-01600 / 45-55 дней Bag, tool (160mm) 1 303 р.
Список узлов