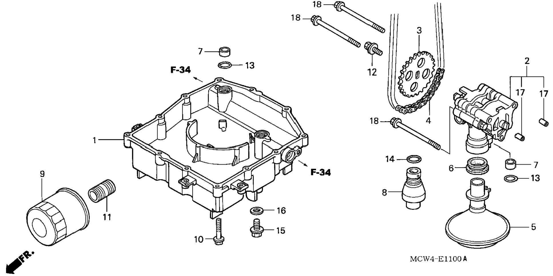
Масляный насос для Honda VFR800 AC 2005 г.

(OIL PUMP)
Доставка из США до Москвы 90 руб. за 100 грамм
Доставка
  • Доставка из США, ОАЭ или из Германии в Москву
  • Доставка со складов в Москве
Скидка 5% от суммы заказа более 30 000 руб.
Оплата
  • Наличный способ оплаты
  • Банковской картой Visa, Mastercard
Номер запчасти,
наличие, срок поставки
Наименование Кол-во Цена
1 11210-MBG-010 / 45-55 дней Pan, oil 1 22 244 р.
2 15100-MCW-000 / 45-55 дней Pump assy., oil 1 27 740 р.
3 15134-MZ5-000 / 45-55 дней Sprocket, oil pump driven (25t) 1 4 827 р.
4 15140-ML7-003 / 45-55 дней Chain, oil pump (48l) 1 4 470 р.
5 15150-MBG-000 / 45-55 дней Strainer, oil 1 4 982 р.
6 15154-MM5-000 / 45-55 дней Gasket, oil strainer 1 909 р.
7 15155-300-000 / 45-55 дней Collar, o-ring 2 476 р.
8 15220-MZ5-000 / 45-55 дней Valve assy., relief 1 4 483 р.
9 15410-MFJ-D01 / 45-55 дней Filter, oil (toyo roki) 1 2 136 р.
10 90006-GHB-690 / 45-55 дней Bolt, flange (6x32) (nshf) 12 239 р.
11 90019-MB0-000 / 45-55 дней Boss, oil filter 1 1 144 р.
12 90021-MM5-000 / 45-55 дней Bolt-washer (6x12) 1 705 р.
13 91303-KF0-003 / 45-55 дней O-ring (14.8x2.4) (arai) 2 220 р.
13 91356-MA6-005 / 45-55 дней O-ring (14.8x2.4) (nok) 2 232 р.
14 91313-MG7-004 / 45-55 дней O-ring (14.7x2.2) (arai) 1 506 р.
15 92800-12000 / 45-55 дней Bolt, drain plug (12mm) 1 485 р.
16 94109-12000 / 45-55 дней Washer, drain plug (12mm) 1 149 р.
17 94301-08140 / 45-55 дней Pin, dowel (8x14) 2 281 р.
18 95701-06095-08 / 45-55 дней Bolt, flange (6x95) 3 376 р.
Список узлов