STEP (2) для Honda VT1100C A 2005 г.

Доставка из США до Москвы 90 руб. за 100 грамм
Доставка
  • Доставка из США, ОАЭ или из Германии в Москву
  • Доставка со складов в Москве
Скидка 5% от суммы заказа более 30 000 руб.
Оплата
  • Наличный способ оплаты
  • Банковской картой Visa, Mastercard
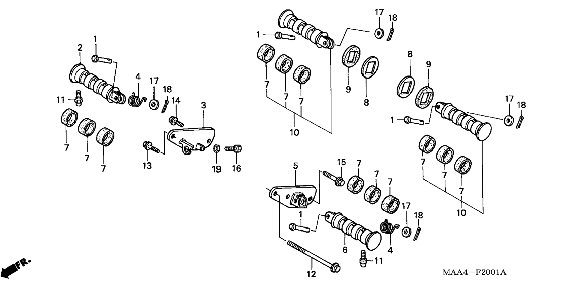
Номер запчасти,
наличие, срок поставки
Наименование Кол-во Цена
1 50603-033-010 / 45-55 дней Pin, step bar joint 4 409 р.
2 50612-MBA-020 / 45-55 дней Bar, r. step 1 3 310 р.
3 50615-MAA-A80 / 45-55 дней Bracket, r. step 1 56 085 р.
4 50617-MAA-A80 / 45-55 дней Spring, step return 2 760 р.
5 50625-MAA-A80 / 45-55 дней Bracket, l. step 1 39 579 р.
6 50642-MBA-020 / 45-55 дней Bar, l. step 1 3 198 р.
7 50661-MBA-010 / 45-55 дней Rubber, main step 12 372 р.
8 50712-MBA-000 / 45-55 дней Washer, pillion step 2 744 р.
9 50713-MBA-000 / 45-55 дней Rubber, pillion step 2 476 р.
10 50715-MBA-020 / 45-55 дней Step assy., pillion 2 4 360 р.
11 90111-MBA-003 / 45-55 дней Bolt, bank sensor 2 869 р.
12 90116-MAA-A00 / 45-55 дней Bolt, flange (8x130) 1 1 191 р.
13 90130-126-900 / 45-55 дней Bolt, flange (10x20) 1 619 р.
14 90159-438-000 / 45-55 дней Bolt, special flange (10x60) 1 921 р.
15 90183-438-000 / 45-55 дней Bolt, special flange (8x26) 1 668 р.
16 92101-06016-0B / 45-55 дней Bolt, hex. (6x16) 1 162 р.
17 94101-08000 / 45-55 дней Washer, plain (8mm) 4 149 р.
18 94201-20150 / 45-55 дней Pin, split (2.0x15) 4 149 р.
19 94002-06000-0S / 45-55 дней Nut, hex. (6mm) 1 164 р.
Список узлов