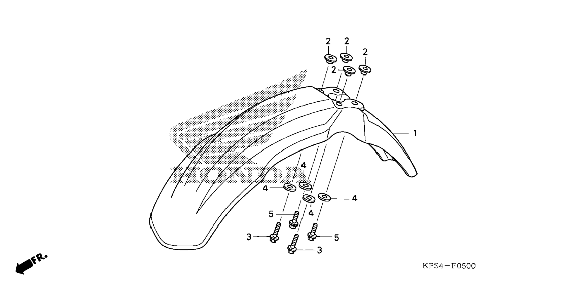
Переднее крыло для Honda CRF230F A 2006 г.

(FRONT FENDER)
Доставка из США до Москвы 90 руб. за 100 грамм
Доставка
  • Доставка из США, ОАЭ или из Германии в Москву
  • Доставка со складов в Москве
Скидка 5% от суммы заказа более 30 000 руб.
Оплата
  • Наличный способ оплаты
  • Банковской картой Visa, Mastercard
Номер запчасти,
наличие, срок поставки
Наименование Кол-во Цена
1 61100-KPS-760ZA / 45-55 дней Fender, fr. 1 7 286 р.
2 61104-KPS-760 / 45-55 дней Collar, fender mounting 4 314 р.
3 90023-KS4-000 / 45-55 дней Bolt, flange (6x32) 2 360 р.
4 90511-KPS-900 / 45-55 дней Washer (6.5x20) 4 174 р.
5 96300-06020-00 / 45-55 дней Bolt, flange (6x20) 2 162 р.
Список узлов