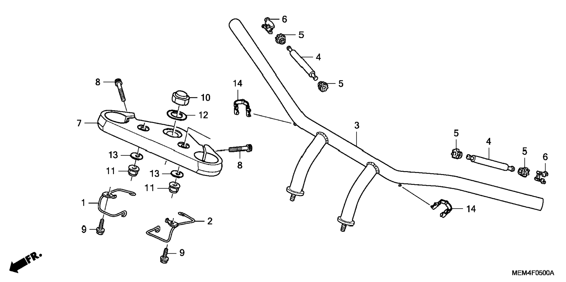
HANDLEBAR / TOP BRIDGE для Honda VTX1300C A 2007 г.

Доставка из США до Москвы 90 руб. за 100 грамм
Доставка
  • Доставка из США, ОАЭ или из Германии в Москву
  • Доставка со складов в Москве
Скидка 5% от суммы заказа более 30 000 руб.
Оплата
  • Наличный способ оплаты
  • Банковской картой Visa, Mastercard
Номер запчасти,
наличие, срок поставки
Наименование Кол-во Цена
1 45151-MEA-670 / 45-55 дней Guide, r. fr. 1 13 789 р.
2 45152-MEA-670 / 45-55 дней Guide, l. fr. 1 18 591 р.
3 53100-MEM-670 / 45-55 дней Handlebar 1 41 303 р.
4 53106-KG1-920 / 45-55 дней Weight, handle 2 1 791 р.
5 53107-MR1-010 / 45-55 дней Rubber, handle weight 4 793 р.
6 53108-KW9-920 / 45-55 дней Ring, handle weight snap 2 968 р.
7 53230-MEA-740 Bridge, fork top 1 Узнать цены
8 90112-KM4-000 / 45-55 дней Bolt, socket (8x30) 2 559 р.
9 90123-KV0-000 / 45-55 дней Bolt, flange (8x16) 2 620 р.
10 90304-415-000 / 45-55 дней Nut, steering stem 1 2 636 р.
11 90306-KF0-003 / 45-55 дней Nut, flange (12mm) (fuserashi) 2 530 р.
12 90503-283-000 / 45-55 дней Washer, steering stem 1 601 р.
13 90531-011-010 / 45-55 дней Washer (12mm) 2 190 р.
14 90690-GHB-701 / 45-55 дней Clip, cable (17mm) 2 381 р.
Список узлов