SIDE COVER для Honda CRF230F A 2009 г.

Доставка из США до Москвы 90 руб. за 100 грамм
Доставка
  • Доставка из США, ОАЭ или из Германии в Москву
  • Доставка со складов в Москве
Скидка 5% от суммы заказа более 30 000 руб.
Оплата
  • Наличный способ оплаты
  • Банковской картой Visa, Mastercard
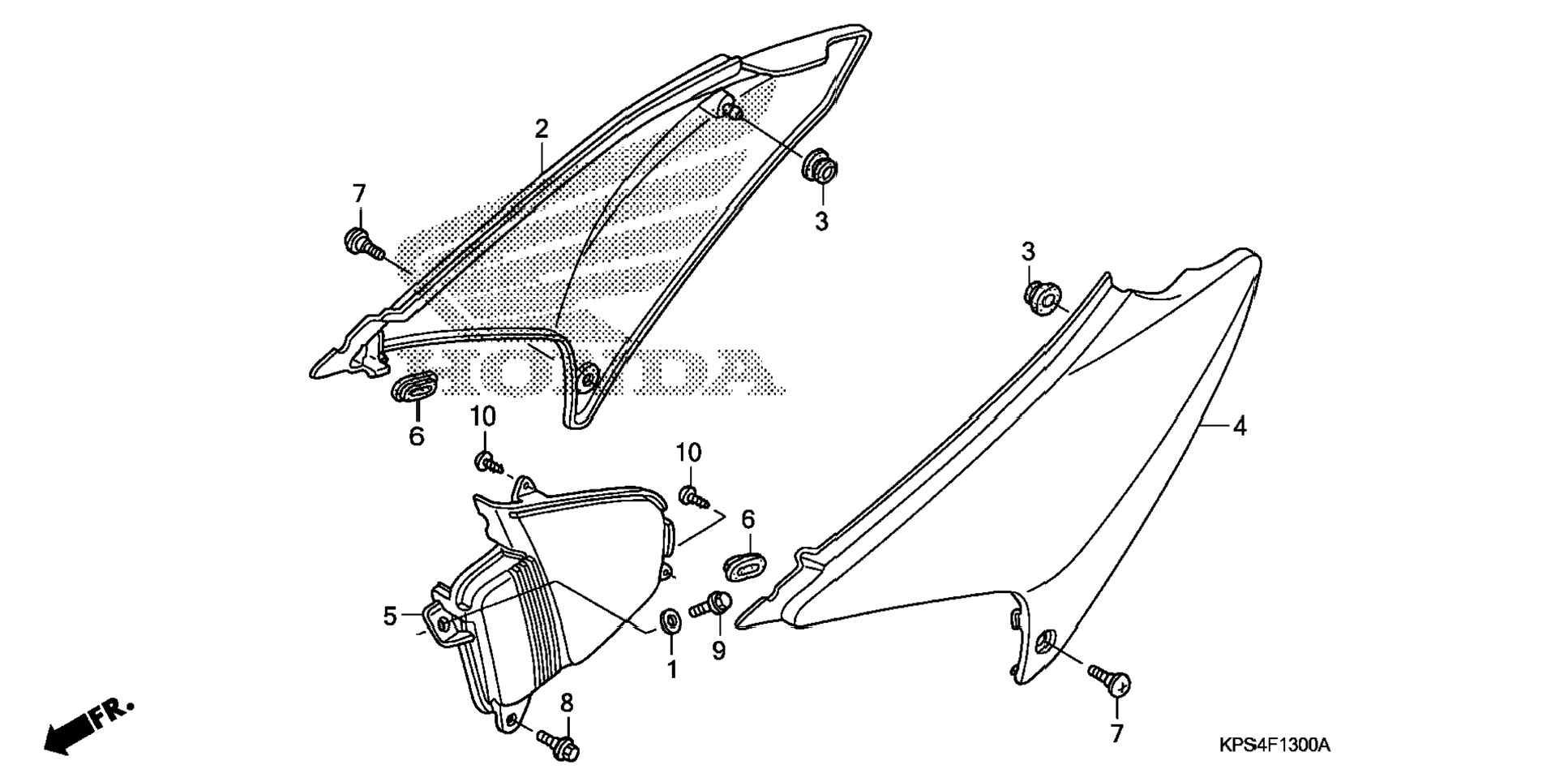
Номер запчасти,
наличие, срок поставки
Наименование Кол-во Цена
1 52156-KAS-900 / 45-55 дней Collar (6.5x4) 1 153 р.
2 83500-KPS-900ZA / 45-55 дней Cover, r. side *nh196* (ross white) 1 3 498 р.
3 83551-376-000 / 45-55 дней Grommet, side cover 2 347 р.
4 83600-KPS-900ZA / 45-55 дней Cover, l. side *nh196* (ross white) 1 3 498 р.
5 83601-KPS-900ZB / 45-55 дней Cover, battery box *nh1* (black) 1 811 р.
6 83601-MB0-000 / 45-55 дней Grommet a, side cover 2 580 р.
7 90103-KV3-830 / 45-55 дней Screw a, cowl setting 2 363 р.
8 90111-187-000 / 45-55 дней Bolt, flange (6mm) 1 779 р.
9 93404-06025-07 / 45-55 дней Bolt-washer (6x25) 1 214 р.
10 93913-24120 / 45-55 дней Screw, tapping (4x10) 2 153 р.
Список узлов