Аккумулятор для Honda NSA700A A 2009 г.

(BATTERY)
Доставка из США до Москвы 90 руб. за 100 грамм
Доставка
  • Доставка из США, ОАЭ или из Германии в Москву
  • Доставка со складов в Москве
Скидка 5% от суммы заказа более 30 000 руб.
Оплата
  • Наличный способ оплаты
  • Банковской картой Visa, Mastercard
Номер запчасти,
наличие, срок поставки
Наименование Кол-во Цена
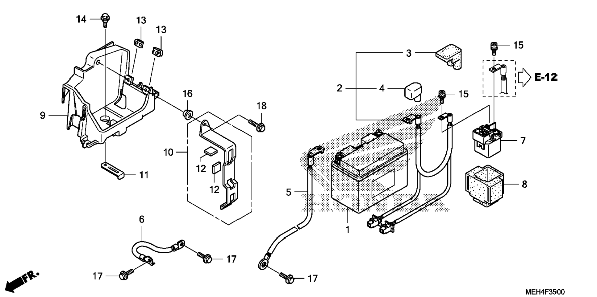
1 31500-MCR-D02AH / 45-55 дней Battery (ytz14s) (yuasa) (msds) 1 26 492 р.
2 32401-MEH-000 / 45-55 дней Cable, starter battery 1 3 838 р.
3 32406-MT4-010 / 45-55 дней Cover, starter magnetic terminal 1 793 р.
4 32414-MZ5-000 / 45-55 дней Cover, battery terminal 1 650 р.
5 32601-MEH-000 / 45-55 дней Cable, battery ground 1 3 591 р.
6 32602-MEH-000 / 45-55 дней Cable, frame ground 1 2 234 р.
7 35850-MY6-671 / 45-55 дней Switch assy., starter magnetic 1 10 685 р.
8 35856-KBG-007 / 45-55 дней Rubber, shock 1 1 308 р.
9 50321-MEH-000 / 45-55 дней Case, battery 1 2 096 р.
10 50322-MEH-000 / 45-55 дней Band, battery 1 1 736 р.
11 50327-MEH-000 / 45-55 дней Band b, battery 1 385 р.
12 50386-130-690 / 45-55 дней Cushion c, battery 2 149 р.
13 64521-MN5-000 / 45-55 дней Nut, clip (4mm) 2 396 р.
14 90106-MM9-000 / 45-55 дней Bolt, fr. fender fixing 1 408 р.
15 90111-MR5-000 / 45-55 дней Bolt, socket (5x9) 2 327 р.
16 90511-MAT-000 / 45-55 дней Washer, rr. cowl setting 1 394 р.
17 95701-06014-00 / 45-55 дней Bolt, flange (6x14) 3 149 р.
18 95701-06016-07 / 45-55 дней Bolt, flange (6x16) 1 204 р.
Список узлов