COOLING FAN (GL1800'06-) для Honda GL1800 4A 2010 г.

Доставка из США до Москвы 90 руб. за 100 грамм
Доставка
  • Доставка из США, ОАЭ или из Германии в Москву
  • Доставка со складов в Москве
Скидка 5% от суммы заказа более 30 000 руб.
Оплата
  • Наличный способ оплаты
  • Банковской картой Visa, Mastercard
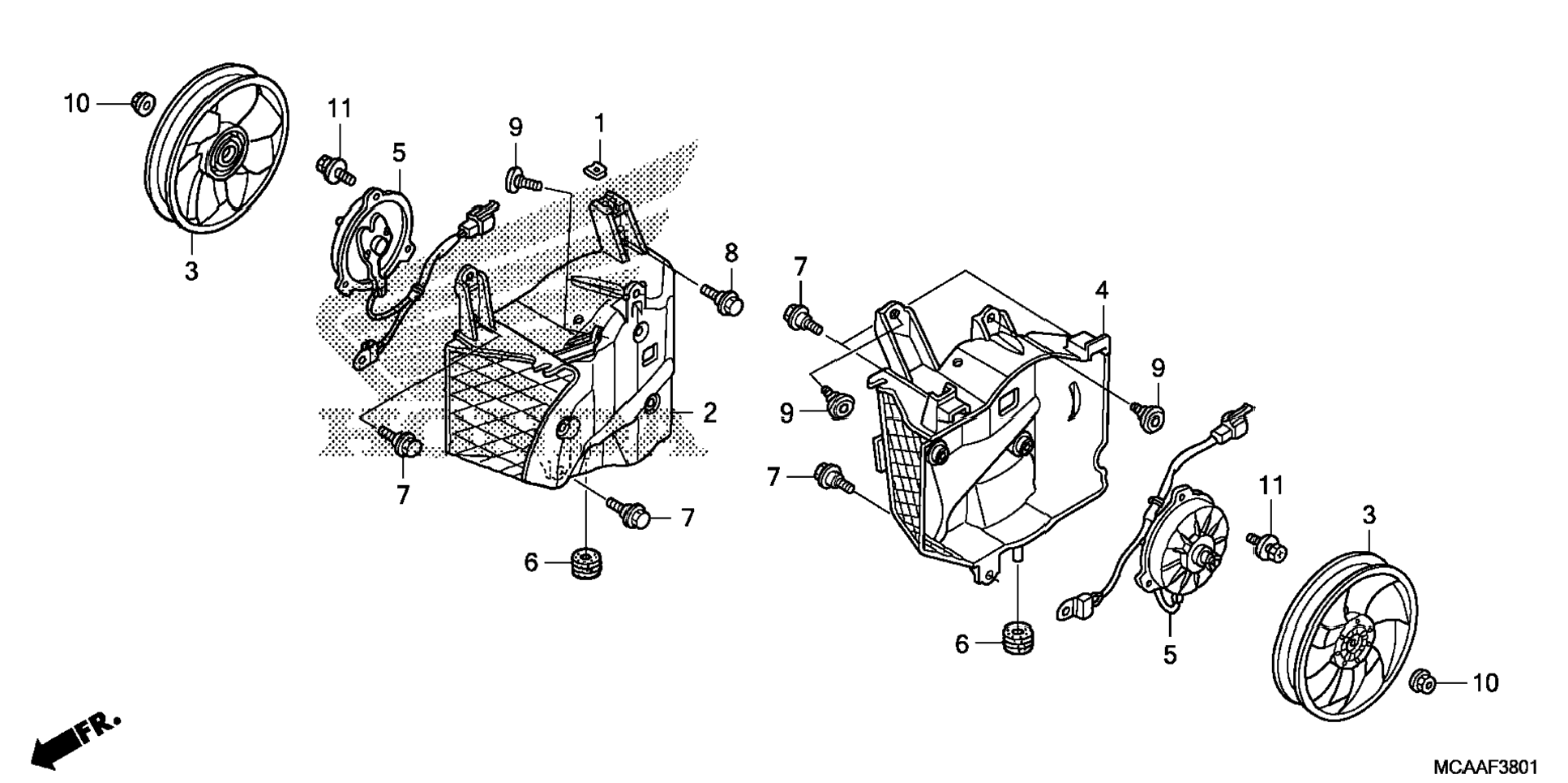
Номер запчасти,
наличие, срок поставки
Наименование Кол-во Цена
1 19014-KEA-003 / 45-55 дней Nut, setting (6mm) 1 427 р.
2 19015-MCA-A80 / 45-55 дней Air guide, r. radiator 1 7 263 р.
3 19020-HN2-003 / 45-55 дней Fan, cooling 2 9 148 р.
4 19025-MCA-A80 / 45-55 дней Air guide, l. radiator 1 7 263 р.
5 19030-MCA-A61 / 45-55 дней Motor assy., fan 2 31 145 р.
6 19051-KA4-000 / 45-55 дней Rubber, radiator mounting 2 522 р.
7 90111-187-000 / 45-55 дней Bolt, flange (6mm) 5 840 р.
8 90111-187-000 / 45-55 дней Bolt, flange (6mm) 1 840 р.
9 90119-KV3-680 / 45-55 дней Bolt, tool box (6x20) 4 461 р.
10 90315-MK3-003 / 45-55 дней Nut, serrate (5mm) 2 292 р.
11 90120-GHB-601 / 45-55 дней Bolt-washer (6x12) 6 244 р.
Список узлов