Стартер для Honda VT1300CSA A 2010 г.

(STARTING MOTOR)
Доставка из США до Москвы 90 руб. за 100 грамм
Доставка
  • Доставка из США, ОАЭ или из Германии в Москву
  • Доставка со складов в Москве
Скидка 5% от суммы заказа более 30 000 руб.
Оплата
  • Наличный способ оплаты
  • Банковской картой Visa, Mastercard
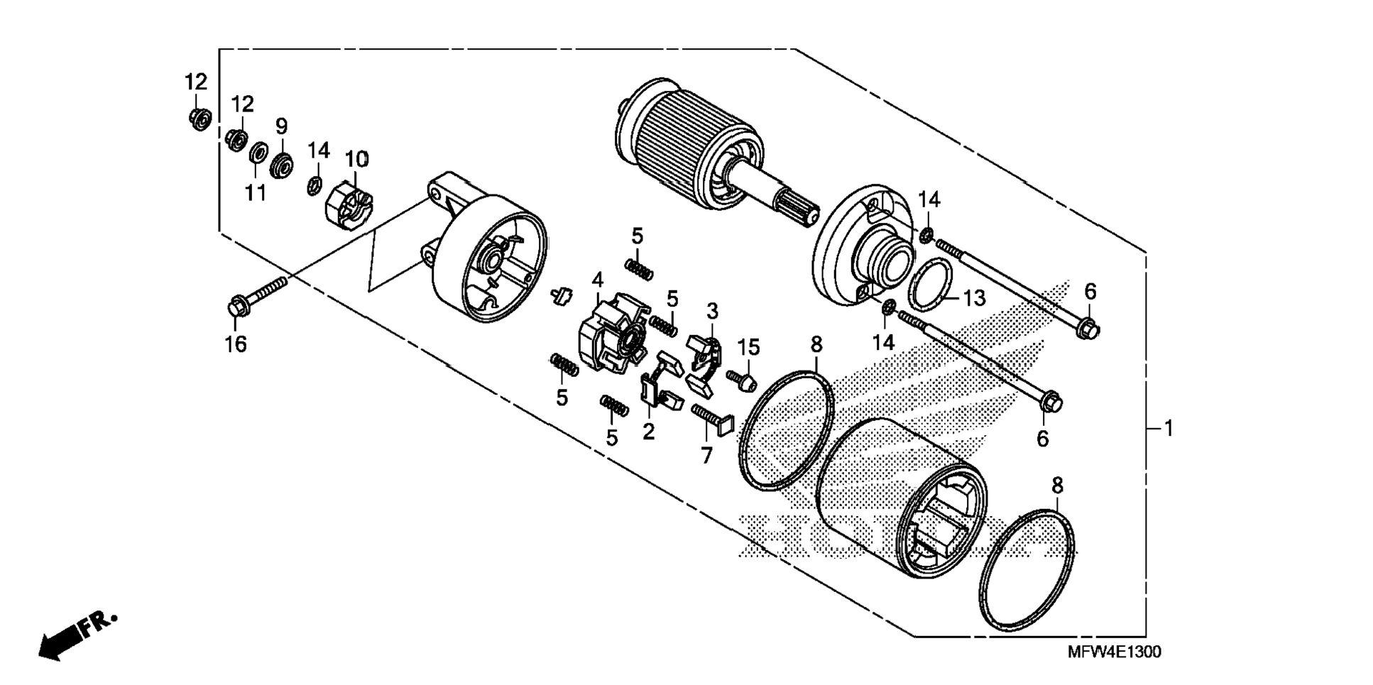
Номер запчасти,
наличие, срок поставки
Наименование Кол-во Цена
1 31200-MFR-671 / 45-55 дней Starter motor assy. 1 68 715 р.
2 31201-MEW-921 / 45-55 дней Brush set a, carbon 1 1 072 р.
3 31202-MEW-921 / 45-55 дней Brush set b, carbon 1 1 737 р.
4 31203-MEW-921 / 45-55 дней Holder, brush 1 1 031 р.
5 31204-MEW-921 / 45-55 дней Spring, carbon brush 4 1 727 р.
6 31205-MEW-921 / 45-55 дней Bolt, setting 2 1 221 р.
7 31206-MEW-921 / 45-55 дней Bolt, terminal 1 366 р.
8 31207-KS5-901 / 45-55 дней Ring 2 428 р.
9 31208-MEW-921 / 45-55 дней Insulator 1 958 р.
10 31209-MEW-921 / 45-55 дней Stopper, terminal 1 1 424 р.
11 31210-MEW-921 / 45-55 дней Washer 1 226 р.
12 90071-MB0-000 / 45-55 дней Nut-washer (6mm) 2 259 р.
13 91312-MG7-003 / 45-55 дней O-ring (24.4x3.1) (arai) 1 794 р.
14 91320-MB0-000 / 45-55 дней O-ring (4x2) 3 303 р.
15 93892-05012-08 / 45-55 дней Screw-washer (5x12) 1 149 р.
16 95701-06028-00 / 45-55 дней Bolt, flange (6x28) 2 226 р.
Список узлов