UPPER COWL для Honda CBR1000RA AC 2011 г.

Доставка из США до Москвы 90 руб. за 100 грамм
Доставка
  • Доставка из США, ОАЭ или из Германии в Москву
  • Доставка со складов в Москве
Скидка 5% от суммы заказа более 30 000 руб.
Оплата
  • Наличный способ оплаты
  • Банковской картой Visa, Mastercard
Номер запчасти,
наличие, срок поставки
Наименование Кол-во Цена
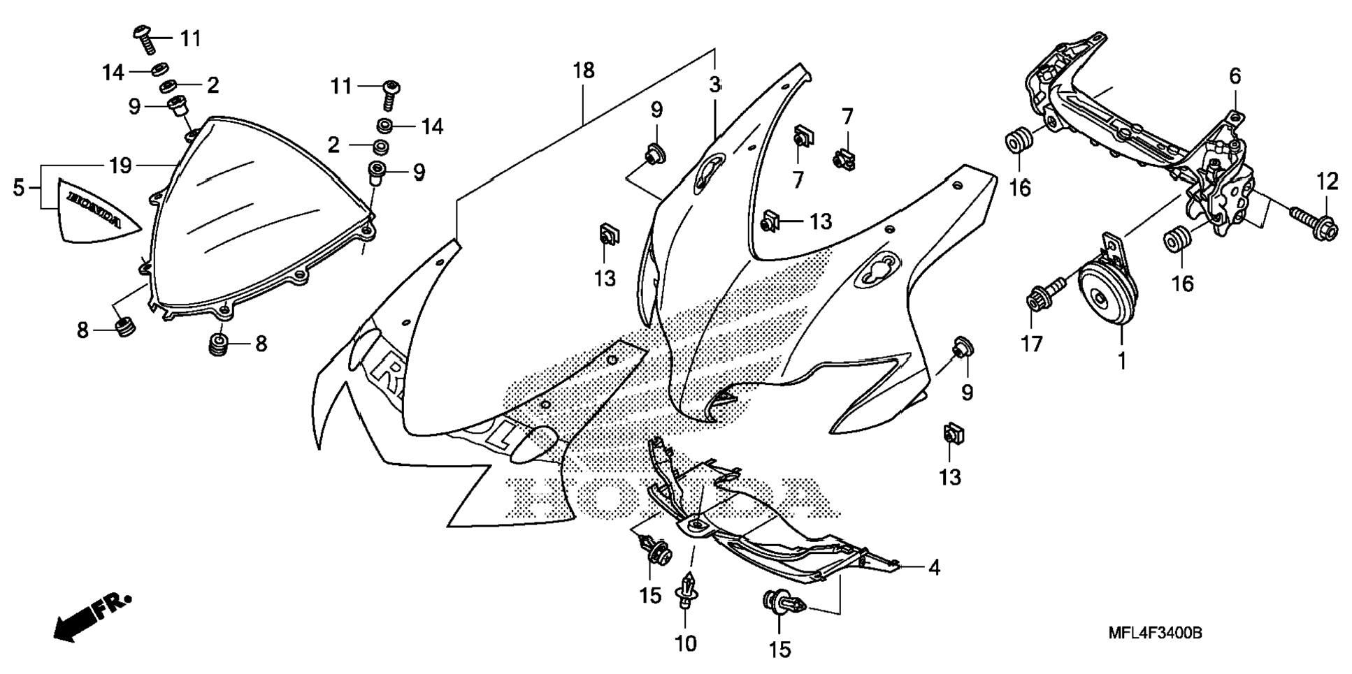
1 38110-MFL-003 / 45-55 дней Horn (high) 1 7 542 р.
1 38110-MFL-000 / 45-55 дней Horn (high) 1 7 542 р.
2 64205-166-610 / 45-55 дней Washer, screen setting 4 277 р.
3 64211-MFL-010ZH / 45-55 дней Cowl (upper) *r334* (victory red) 1 53 001 р.
4 64220-MFL-000 / 45-55 дней Cover, air in. 1 2 917 р.
5 64250-MFL-305ZA / 45-55 дней Windscreen set (type1) (wl)(coo) 1 25 775 р.
6 64501-MFL-020 / 45-55 дней Stay a, cowl (upper) 1 26 193 р.
7 64521-MN5-000 / 45-55 дней Nut, clip (4mm) 2 396 р.
8 64535-MCJ-000 / 45-55 дней Rubber, cowl (lower) 2 327 р.
9 90111-KW3-003 / 45-55 дней Nut, cowl setting (5mm) 6 622 р.
10 90116-MCS-G00 / 45-55 дней Rivet, push 1 173 р.
11 90119-MFL-D20 / 45-55 дней Bolt, special (5x16) 4 289 р.
12 90120-MEE-000 / 45-55 дней Bolt, flange (8x28) 2 292 р.
13 90312-MT3-000 / 45-55 дней Nut, clip (5mm) 4 629 р.
14 90504-964-000 / 45-55 дней Washer, thrust (5mm) 4 238 р.
15 90683-GR1-003 / 45-55 дней Clip, body cover 2 372 р.
16 90852-898-000 / 45-55 дней Rubber, control box 2 504 р.
17 92101-08014-0G / 45-55 дней Bolt, hex. (8x14) 1 149 р.
Список узлов