TOOLS для Honda VT750C AC 2011 г.

Доставка из США до Москвы 90 руб. за 100 грамм
Доставка
  • Доставка из США, ОАЭ или из Германии в Москву
  • Доставка со складов в Москве
Скидка 5% от суммы заказа более 30 000 руб.
Оплата
  • Наличный способ оплаты
  • Банковской картой Visa, Mastercard
Номер запчасти,
наличие, срок поставки
Наименование Кол-во Цена
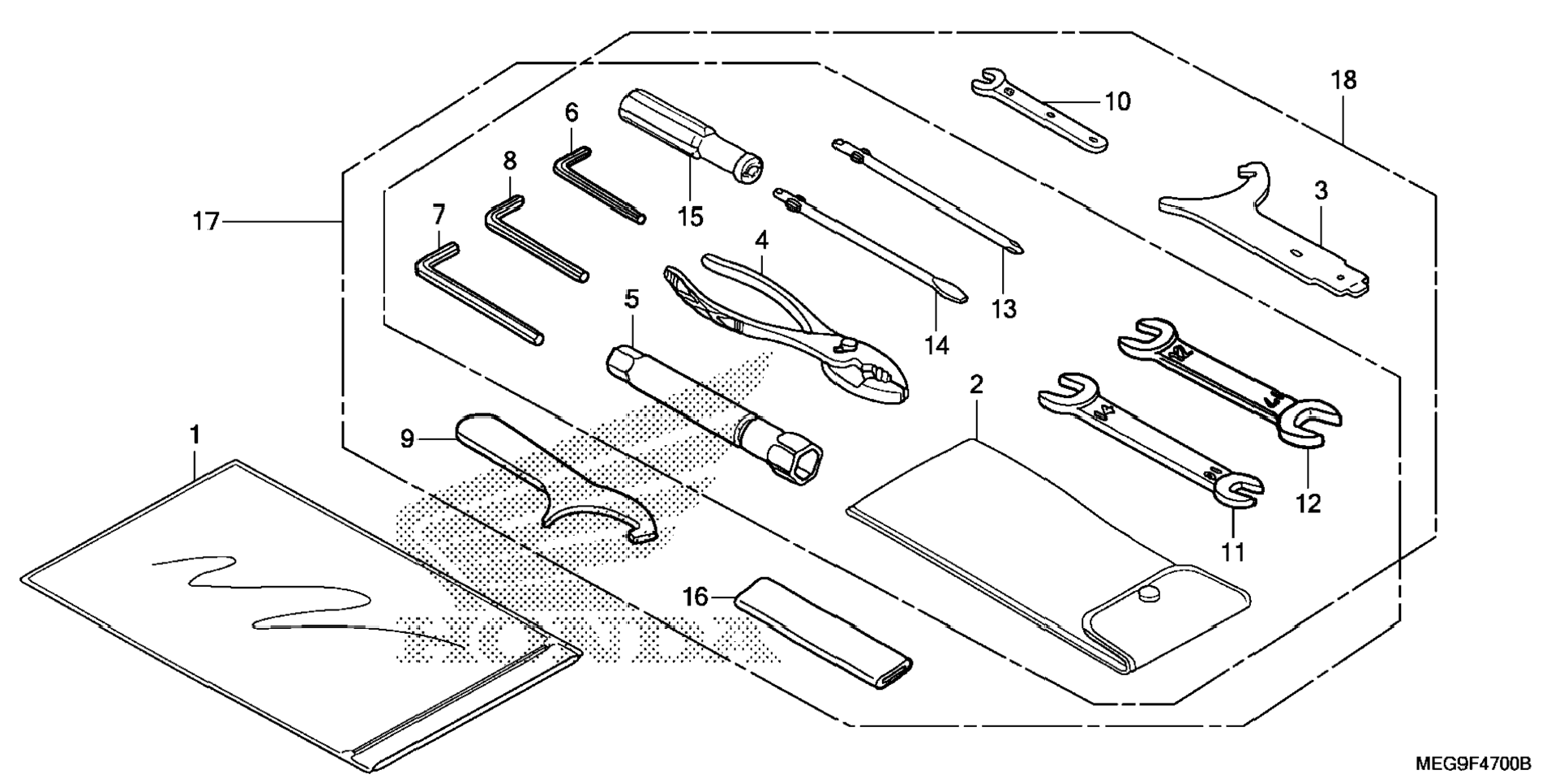
1 77251-342-000 / 45-55 дней Bag, service book 1 548 р.
2 89101-MC7-000 / 45-55 дней Bag, tool 1 808 р.
2 89101-ME5-670 Bag, tool 1 Узнать цены
2 89101-063-000 / 45-55 дней Bag, tool 1 314 р.
3 89202-MT3-000 / 45-55 дней Spanner, pin 1 1 276 р.
4 99002-13500 / 45-55 дней Pliers (135) 1 1 830 р.
4 89210-GBJ-J10 / 45-55 дней Pliers (135) (kowa) 1 1 830 р.
4 89210-GBJ-J00 / 45-55 дней Pliers (135) (riken) 1 1 094 р.
5 89216-MBA-000 / 45-55 дней Wrench, plug (16.5) 1 1 547 р.
6 89221-KW3-000 / 45-55 дней Wrench, hex. (4mm) 1 698 р.
7 89221-422-000 / 45-55 дней Wrench, hex. (6mm) 1 3 424 р.
7 89221-371-000 / 45-55 дней Wrench, hex. (6mm) 1 565 р.
8 89221-429-000 / 45-55 дней Wrench, hex. (5mm) 1 519 р.
10 99001-08000 / 45-55 дней Spanner, 8 1 840 р.
11 99001-10140 / 45-55 дней Spanner (10x14) 1 416 р.
12 99001-12170 / 45-55 дней Spanner (12x17) 1 936 р.
13 99003-10000 / 45-55 дней Driver 1, plus screw (no.2) 1 457 р.
14 99003-30000 / 45-55 дней Driver 3, minus screw (no.2) 1 457 р.
15 99003-50000 / 45-55 дней Grip, screw driver 1 457 р.
18 89010-MEG-000 / 45-55 дней Tool set 1 15 159 р.
Список узлов