Компоненты ГРМ для Honda VT750C2B A 2011 г.

(CAM CHAIN)
Доставка из США до Москвы 90 руб. за 100 грамм
Доставка
  • Доставка из США, ОАЭ или из Германии в Москву
  • Доставка со складов в Москве
Скидка 5% от суммы заказа более 30 000 руб.
Оплата
  • Наличный способ оплаты
  • Банковской картой Visa, Mastercard
Номер запчасти,
наличие, срок поставки
Наименование Кол-во Цена
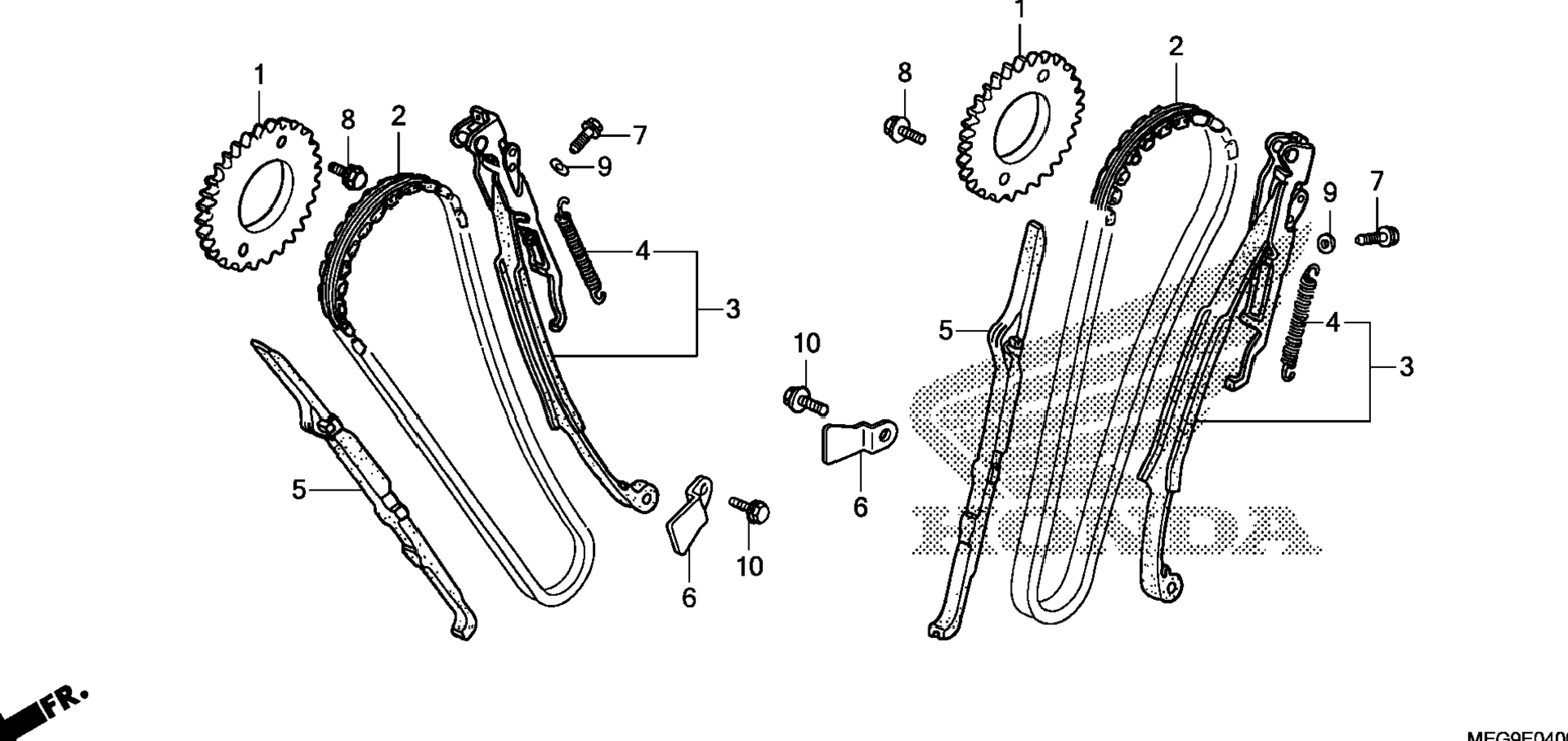
1 14322-MCB-610 / 45-55 дней Sprocket, cam (40t) 2 7 491 р.
2 14401-MAN-621 / 45-55 дней Chain, cam (118l) (borg warner) 2 13 579 р.
3 14510-MR1-000 / 45-55 дней Tensioner, cam chain 2 20 618 р.
4 14516-MG8-003 / 45-55 дней Spring, cam chain tensioner (nippon hatsujo) 2 659 р.
5 14522-MV1-000 / 45-55 дней Guide, cam chain 2 6 569 р.
6 14623-MBA-000 / 45-55 дней Plate, tensioner setting 2 708 р.
7 90001-MZ8-U40 / 45-55 дней Bolt, flange (6x18) 4 238 р.
8 90086-MZ8-H00 / 45-55 дней Bolt, special flange (7x13) 4 409 р.
9 90441-706-000 / 45-55 дней Washer, sealing (6mm) 4 149 р.
10 95701-06016-00 / 45-55 дней Bolt, flange (6x16) 2 204 р.
Список узлов