REAR BRAKE MASTER CYLINDER для Honda CRF250X A 2013 г.

Доставка из США до Москвы 90 руб. за 100 грамм
Доставка
  • Доставка из США, ОАЭ или из Германии в Москву
  • Доставка со складов в Москве
Скидка 5% от суммы заказа более 30 000 руб.
Оплата
  • Наличный способ оплаты
  • Банковской картой Visa, Mastercard
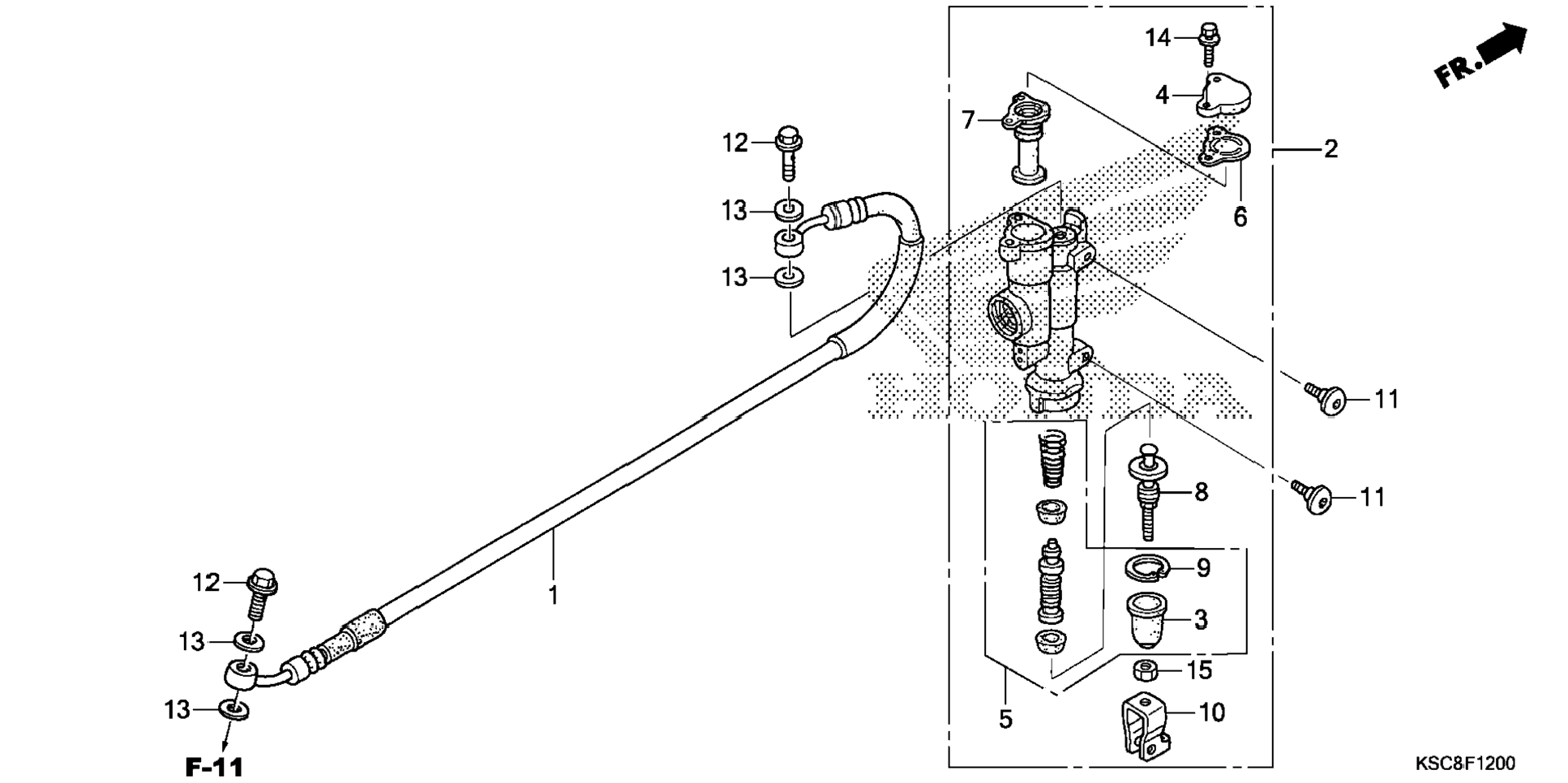
Номер запчасти,
наличие, срок поставки
Наименование Кол-во Цена
1 43310-KZ4-J41 / 45-55 дней Hose, rr. brake 1 6 285 р.
2 43500-MEN-305 / 45-55 дней Master cylinder assy., rr. brake (coo) 1 39 578 р.
3 43504-MB2-006 / 45-55 дней Boot 1 1 334 р.
4 43513-KZ4-J41 / 45-55 дней Cap, master cylinder 1 652 р.
5 43520-KZ4-J43 / 45-55 дней Piston set, master cylinder 1 6 294 р.
6 43521-KZ4-J41 / 45-55 дней Plate, diaphragm 1 574 р.
7 43522-KZ4-J41 / 45-55 дней Diaphragm 1 2 441 р.
8 43530-KZ4-J41 / 45-55 дней Rod, push 1 2 878 р.
9 46182-MEL-D21 / 45-55 дней Circlip 1 241 р.
10 46504-KZ4-J41 / 45-55 дней Joint, brake rod 1 698 р.
11 90114-MAC-780 / 45-55 дней Bolt, fr. disk cover 2 427 р.
12 90145-MS9-612 / 45-55 дней Bolt, oil (10x22) 2 940 р.
13 90545-300-000 / 45-55 дней Washer, oil bolt 4 599 р.
14 93401-04016-00 / 45-55 дней Bolt-washer (4x16) 2 149 р.
15 94002-06000-0S / 45-55 дней Nut, hex. (6mm) 1 164 р.
Список узлов