Переднее крыло для Honda CB1100A AC 2013 г.

(FRONT FENDER)
Доставка из США до Москвы 90 руб. за 100 грамм
Доставка
  • Доставка из США, ОАЭ или из Германии в Москву
  • Доставка со складов в Москве
Скидка 5% от суммы заказа более 30 000 руб.
Оплата
  • Наличный способ оплаты
  • Банковской картой Visa, Mastercard
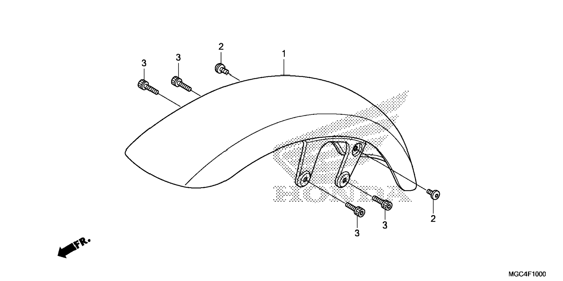
Номер запчасти,
наличие, срок поставки
Наименование Кол-во Цена
1 61100-MGC-000 / 45-55 дней Fender, fr. 1 38 491 р.
2 90106-MGC-000 / 45-55 дней Screw, pan (6x10) 2 326 р.
3 96600-06016-00 / 45-55 дней Bolt, socket (6x16) 4 216 р.
Список узлов