Помпа для Honda CBR500R 3A 2014 г.

(WATER PUMP)
Доставка из США до Москвы 90 руб. за 100 грамм
Доставка
  • Доставка из США, ОАЭ или из Германии в Москву
  • Доставка со складов в Москве
Скидка 5% от суммы заказа более 30 000 руб.
Оплата
  • Наличный способ оплаты
  • Банковской картой Visa, Mastercard
Номер запчасти,
наличие, срок поставки
Наименование Кол-во Цена
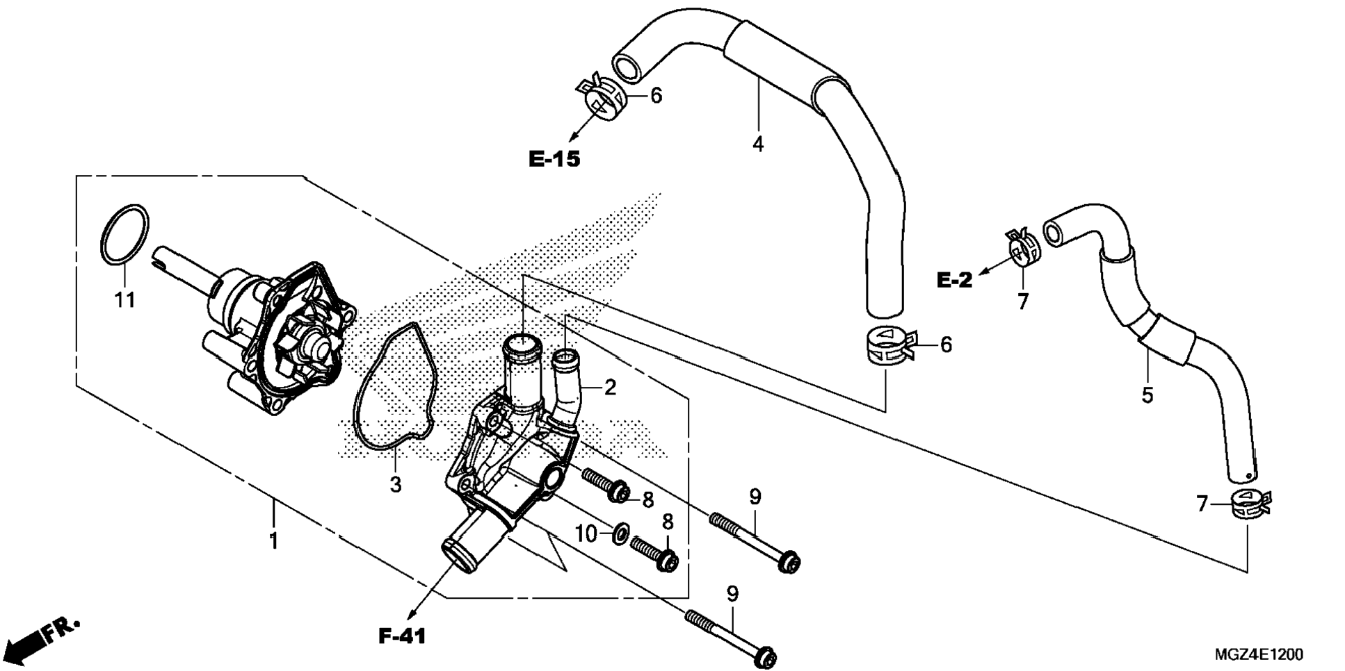
1 19200-MGZ-305 / 45-55 дней Water pump 1 19 671 р.
2 19220-MGZ-J00 / 45-55 дней Cover, water pump 1 11 063 р.
3 19226-MGZ-J00 / 45-55 дней Gasket, water pump body 1 713 р.
4 19525-MGZ-J00 / 45-55 дней Hose a, water 1 4 192 р.
5 19526-MGZ-J00 / 45-55 дней Hose, water bypass 1 3 084 р.
6 19531-MGZ-J00 / 45-55 дней Clip, water hose (d27) 2 251 р.
7 19535-MGZ-J00 / 45-55 дней Clip, water hose (d21) 2 173 р.
8 90002-MGZ-J00 / 45-55 дней Bolt, flange socket (6x25) 2 149 р.
9 90004-MGZ-J00 / 45-55 дней Bolt, flange socket (6x60) 3 149 р.
10 90463-ML7-000 / 45-55 дней Washer, sealing (6.5mm) 1 385 р.
11 91302-MB0-013 / 45-55 дней O-ring (32.95x2.62) (arai) 1 366 р.
Список узлов