IGNITION COIL для Honda CBR500R A 2015 г.

Доставка из США до Москвы 90 руб. за 100 грамм
Доставка
  • Доставка из США, ОАЭ или из Германии в Москву
  • Доставка со складов в Москве
Скидка 5% от суммы заказа более 30 000 руб.
Оплата
  • Наличный способ оплаты
  • Банковской картой Visa, Mastercard
Номер запчасти,
наличие, срок поставки
Наименование Кол-во Цена
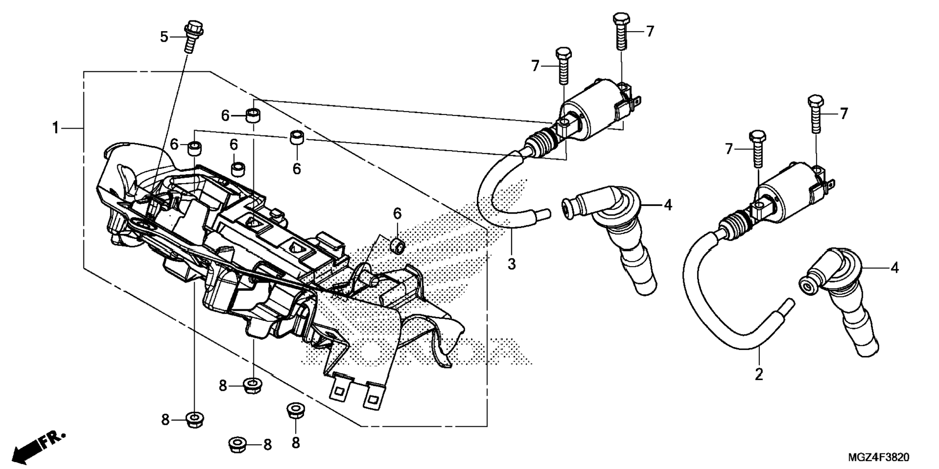
1 19125-MGZ-J00 / 45-55 дней Tray, ignition coil 1 2 462 р.
2 30510-MGZ-J01 / 45-55 дней Coil, l. ignition 1 3 167 р.
3 30520-MGZ-J01 / 45-55 дней Coil, r. ignition 1 3 112 р.
4 30700-MGZ-J01 / 45-55 дней Cap assy., noise suppressor 2 10 288 р.
5 90111-162-000 / 45-55 дней Bolt, flange (6mm) 1 360 р.
6 90312-GFM-970 / 45-55 дней Collar, body cover 5 204 р.
7 92101-06025-0A / 45-55 дней Bolt, hex. (6x25) 4 204 р.
8 94050-06080 / 45-55 дней Nut, flange (6mm) 4 149 р.
Список узлов