Заднее крыло для Honda CTX700N A 2015 г.

(REAR FENDER)
Доставка из США до Москвы 90 руб. за 100 грамм
Доставка
  • Доставка из США, ОАЭ или из Германии в Москву
  • Доставка со складов в Москве
Скидка 5% от суммы заказа более 30 000 руб.
Оплата
  • Наличный способ оплаты
  • Банковской картой Visa, Mastercard
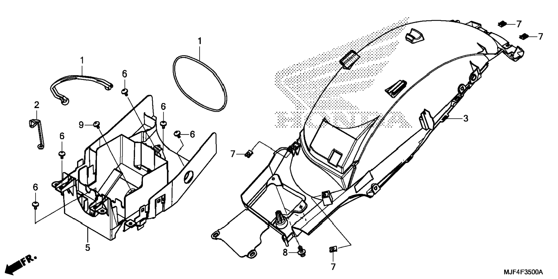
Номер запчасти,
наличие, срок поставки
Наименование Кол-во Цена
1 50290-MBL-610 / 45-55 дней Band, u-lock 2 611 р.
2 50419-166-000 / 45-55 дней Band, tool setting 1 1 006 р.
3 80105-MJF-A00 / 45-55 дней Fender b, rr. 1 28 316 р.
5 81211-MJF-A00 / 45-55 дней Box, battery 1 9 133 р.
6 90114-MGE-000 / 45-55 дней Screw, special (5x11) 5 326 р.
7 90677-KAN-961 / 45-55 дней Nut, clip (5mm) 4 561 р.
8 90683-MBW-003 / 45-55 дней Clip, body 2 298 р.
9 93903-25220 / 45-55 дней Screw, tapping (5x12) 1 149 р.
Список узлов