FRONT COWL для Honda CB500F 2AC 2015 г.

Доставка из США до Москвы 90 руб. за 100 грамм
Доставка
  • Доставка из США, ОАЭ или из Германии в Москву
  • Доставка со складов в Москве
Скидка 5% от суммы заказа более 30 000 руб.
Оплата
  • Наличный способ оплаты
  • Банковской картой Visa, Mastercard
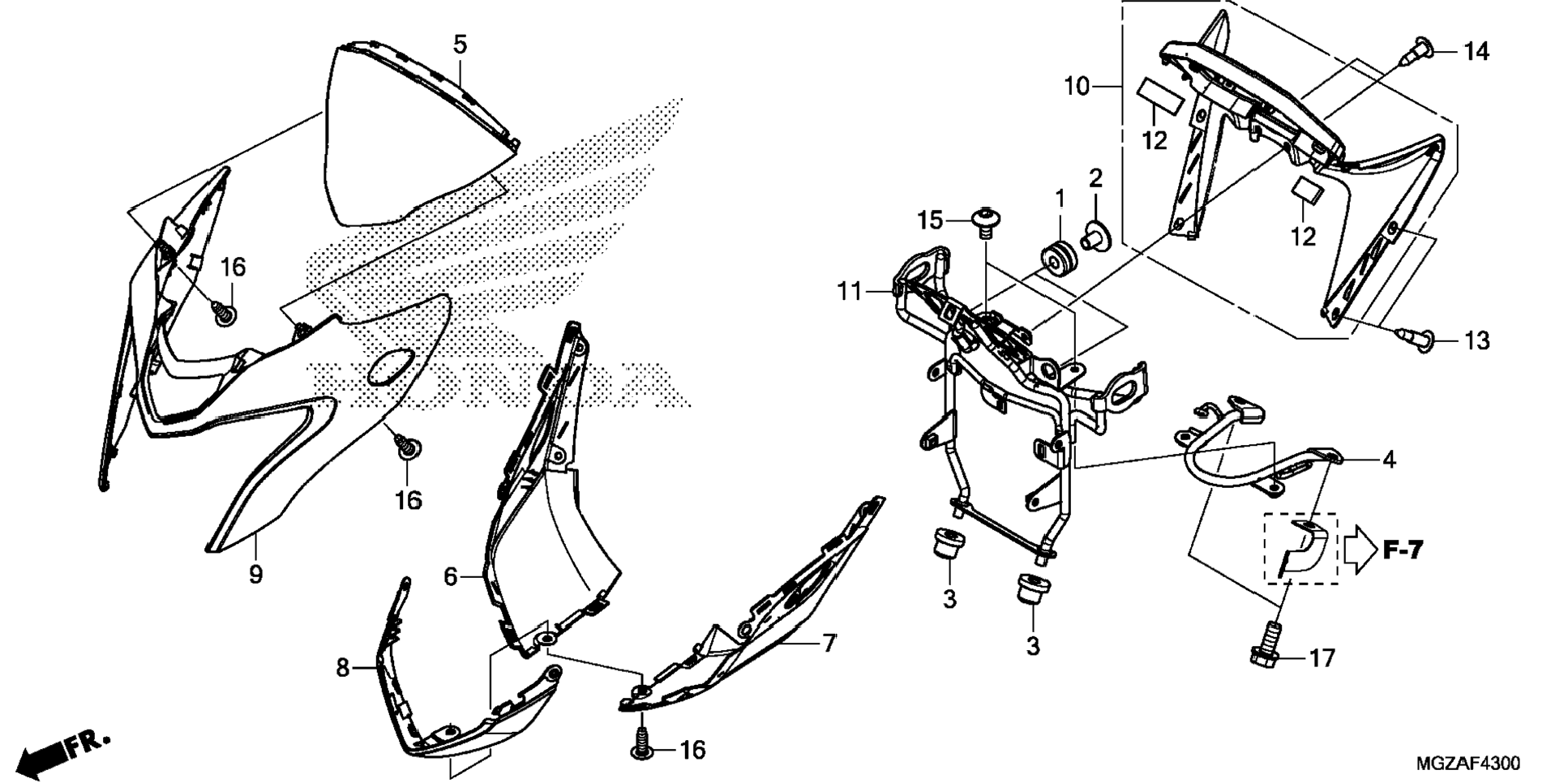
Номер запчасти,
наличие, срок поставки
Наименование Кол-во Цена
1 17245-107-010 / 45-55 дней Rubber, air cleaner housing mounting 2 378 р.
2 40521-437-000 / 45-55 дней Collar, chain case tail 2 696 р.
3 61315-MBV-000 / 45-55 дней Rubber, headlight stay 2 668 р.
4 64210-MGZ-J40 / 45-55 дней Stay b, headlight 1 3 400 р.
5 64211-MGZ-J40 / 45-55 дней Visor, meter 1 1 461 р.
6 64212-MGZ-J40 / 45-55 дней Cover, r. rr. headlight 1 1 416 р.
7 64213-MGZ-J40 / 45-55 дней Cover, l. rr. headlight 1 1 416 р.
8 64214-MGZ-J40 / 45-55 дней Cover, fr. headlight 1 1 098 р.
9 64215-MGZ-J40ZF / 45-55 дней Cowl, fr. *nh196* (ross white) 1 13 545 р.
10 64216-MGZ-J40 / 45-55 дней Cover assy., meter 1 8 900 р.
11 64220-MGZ-J40 / 45-55 дней Stay, headlight 1 9 630 р.
12 84703-KC2-960 / 45-55 дней Cushion, number plate 2 149 р.
13 90116-MCS-G00 / 45-55 дней Rivet, push 4 173 р.
14 90116-SP0-003 / 45-55 дней Clip, bumper seal 2 723 р.
15 90132-KPP-T00 / 45-55 дней Screw, pan (6x10) 2 149 р.
16 93903-24380 / 45-55 дней Screw, tapping (4x12) 3 149 р.
17 95701-08018-00 / 45-55 дней Bolt, flange (8x18) 2 225 р.
Список узлов