MIRROR для Honda CBR500RA A 2015 г.

Доставка из США до Москвы 90 руб. за 100 грамм
Доставка
  • Доставка из США, ОАЭ или из Германии в Москву
  • Доставка со складов в Москве
Скидка 5% от суммы заказа более 30 000 руб.
Оплата
  • Наличный способ оплаты
  • Банковской картой Visa, Mastercard
Номер запчасти,
наличие, срок поставки
Наименование Кол-во Цена
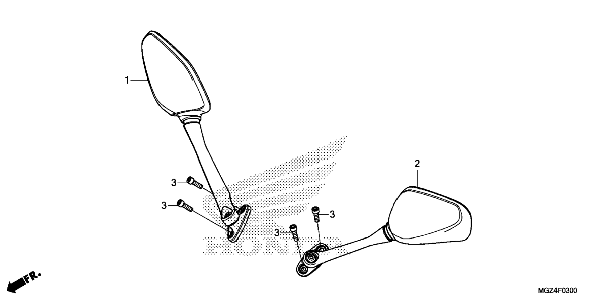
1 88110-MGZ-305 / 45-55 дней Mirror assy., r. back (coo) 1 7 324 р.
2 88120-MGZ-305 / 45-55 дней Mirror assy., l. back (coo) 1 7 290 р.
3 90001-MCK-A50 / 45-55 дней Bolt, socket (6x20) 4 272 р.
Список узлов