Переднее крыло для Honda CBR300R 4A 2016 г.

(FRONT FENDER)
Доставка из США до Москвы 90 руб. за 100 грамм
Доставка
  • Доставка из США, ОАЭ или из Германии в Москву
  • Доставка со складов в Москве
Скидка 5% от суммы заказа более 30 000 руб.
Оплата
  • Наличный способ оплаты
  • Банковской картой Visa, Mastercard
Номер запчасти,
наличие, срок поставки
Наименование Кол-во Цена
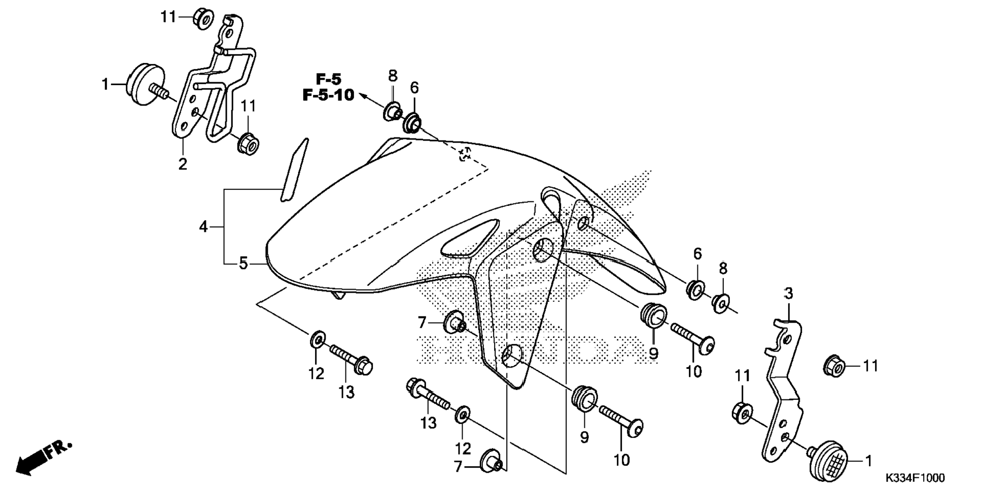
1 33741-KTG-U01 / 45-55 дней Reflector, fr. reflex (amber) 2 890 р.
2 60114-KYJ-920 / 45-55 дней Stay, r. fr. side reflector 1 1 583 р.
3 60115-KYJ-920 / 45-55 дней Stay, l. fr. side reflector 1 705 р.
5 61100-KPP-T00ZU / 45-55 дней Fender, fr. *nh436m* (mat gunpowder black metallic) 1 6 863 р.
5 61100-KPP-T00YA / 45-55 дней Fender, fr. *yr249c* (candy energy orange) 1 5 812 р.
6 61103-KPF-910 / 45-55 дней Rubber, fr. fender mounting 2 171 р.
7 61103-KRY-900 / 45-55 дней Collar a, fr. fender 4 153 р.
8 61105-KPF-910 / 45-55 дней Collar, fr. fender mounting 2 149 р.
9 61105-KRY-900 / 45-55 дней Rubber, fr. fender mounting 4 149 р.
10 90130-KYJ-900 / 45-55 дней Screw, pan (6x22) 4 149 р.
11 90301-KGH-901 / 45-55 дней Nut, u (6mm) (fuji seimitsu) 4 165 р.
12 90485-286-000 / 45-55 дней Washer (6mm) 2 204 р.
13 96001-06035-00 / 45-55 дней Bolt, flange (6x35) 2 174 р.
Список узлов