SHELTER для Honda CTX700 A 2016 г.

Доставка из США до Москвы 90 руб. за 100 грамм
Доставка
  • Доставка из США, ОАЭ или из Германии в Москву
  • Доставка со складов в Москве
Скидка 5% от суммы заказа более 30 000 руб.
Оплата
  • Наличный способ оплаты
  • Банковской картой Visa, Mastercard
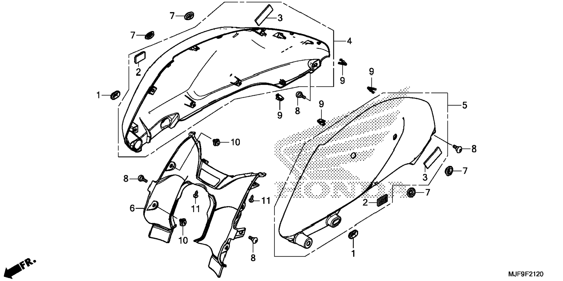
Номер запчасти,
наличие, срок поставки
Наименование Кол-во Цена
1 17247-240-000 / 45-55 дней Grommet a, air cleaner housing 2 387 р.
2 64245-MGH-640 / 45-55 дней Fastener a, dual lock (20x40) 2 943 р.
3 76259-767-L00 / 45-55 дней Seal, protector 2 358 р.
4 83300-MJF-A30ZD / 45-55 дней Shelter, r. *pb388m* (ion blue metallic) 1 37 219 р.
5 83350-MJF-A30ZD / 45-55 дней Shelter, l. *pb388m* (ion blue metallic) 1 37 219 р.
6 83415-MJF-A00 / 45-55 дней Cover, center (inner) 1 7 585 р.
7 83551-GE2-000 / 45-55 дней Grommet, air cleaner housing 4 723 р.
8 90114-MGE-000 / 45-55 дней Screw, special (5x11) 4 326 р.
9 90666-SDA-A01 / 45-55 дней Clip, snap fitting (po)(natural) 4 149 р.
10 90684-MBG-003 / 45-55 дней Clip, drive chain case 4 385 р.
11 93903-24280 / 45-55 дней Screw, tapping (4x10) 4 174 р.
Список узлов