Переднее крыло для Honda XR650L A 2017 г.

(FRONT FENDER)
Доставка из США до Москвы 90 руб. за 100 грамм
Доставка
  • Доставка из США, ОАЭ или из Германии в Москву
  • Доставка со складов в Москве
Скидка 5% от суммы заказа более 30 000 руб.
Оплата
  • Наличный способ оплаты
  • Банковской картой Visa, Mastercard
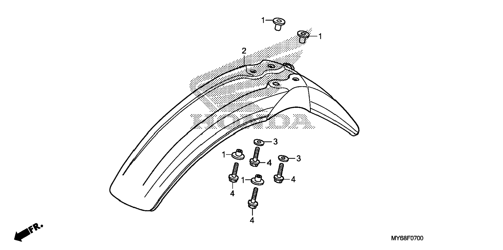
Номер запчасти,
наличие, срок поставки
Наименование Кол-во Цена
1 61104-KA4-700 / 45-55 дней Collar, fender mounting 4 968 р.
2 61105-MY6-770ZB / 45-55 дней Fender, fr. *r134* (fighting red) 1 15 175 р.
3 90545-292-000 / 45-55 дней Washer (6.5x20) 2 220 р.
4 96300-06022-00 / 45-55 дней Bolt, flange (6x22) 4 174 р.
Список узлов