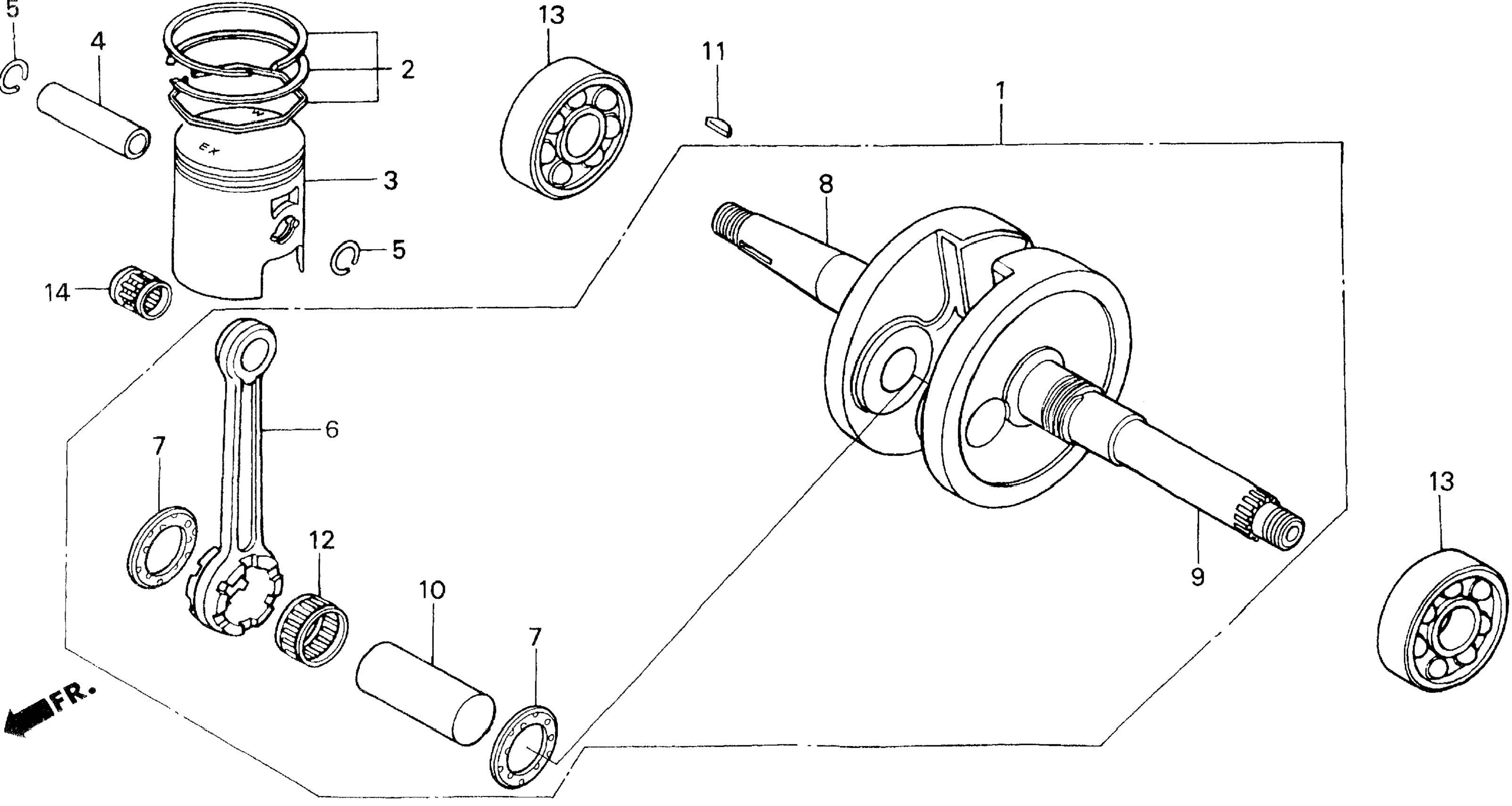
CRANKSHAFT / PISTON для Honda SA50 A 2001 г.

Доставка из США до Москвы 90 руб. за 100 грамм
Доставка
  • Доставка из США, ОАЭ или из Германии в Москву
  • Доставка со складов в Москве
Скидка 5% от суммы заказа более 30 000 руб.
Оплата
  • Наличный способ оплаты
  • Банковской картой Visa, Mastercard
Номер запчасти,
наличие, срок поставки
Наименование Кол-во Цена
1 13000-GAH-721 Crankshaft 1 Узнать цены
2 13010-GW0-307 Ring set, piston (std) 1 Узнать цены
2 13011-GS7-306 Ring set, piston (over size) (0.25) 1 Узнать цены
2 13012-GS7-306 / 45-55 дней Ring set, piston (over size) (0.50) 1 3 131 р.
3 13103-GAH-505 Piston (over size) (0.50) 1 Узнать цены
3 13102-GS7-306 / 45-55 дней Piston (over size) (0.25) 1 4 593 р.
3 13101-GAH-505 / 45-55 дней Piston (std) 1 7 281 р.
4 13111-GZ0-000 / 45-55 дней Pin, piston 1 1 657 р.
5 13115-156-000 / 45-55 дней Clip, piston pin (12mm) 2 376 р.
6 13201-GAH-310 Rod, connecting 1 Узнать цены
7 13202-169-003 Plate, connecting rod side 2 Узнать цены
8 13311-GAH-721 Crankshaft, r. 1 Узнать цены
9 13321-GAH-721 Crankshaft, l. 1 Узнать цены
10 13381-GBL-870 Pin, crank 1 Узнать цены
11 90741-035-000 / 45-55 дней Key, woodruff (3mm) 1 577 р.
12 91004-GAH-008 Bearing, connecting rod big end (green) 1 Узнать цены
12 91003-GAH-008 Bearing, connecting rod big end (white) 1 Узнать цены
12 91002-GAH-008 Bearing, connecting rod big end (blue) 1 Узнать цены
12 91001-GAH-008 Bearing, connecting rod big end (red) 1 Узнать цены
13 91005-GW0-023 / 45-55 дней Bearing, radial ball special (6304) 2 2 795 р.
14 91102-GW0-008 / 45-55 дней Bearing, connecting rod small end (blue) (toyo) 1 1 444 р.
Список узлов