STAND для Honda PS250 AC 2006 г.

Доставка из США до Москвы 90 руб. за 100 грамм
Доставка
  • Доставка из США, ОАЭ или из Германии в Москву
  • Доставка со складов в Москве
Скидка 5% от суммы заказа более 30 000 руб.
Оплата
  • Наличный способ оплаты
  • Банковской картой Visa, Mastercard
Номер запчасти,
наличие, срок поставки
Наименование Кол-во Цена
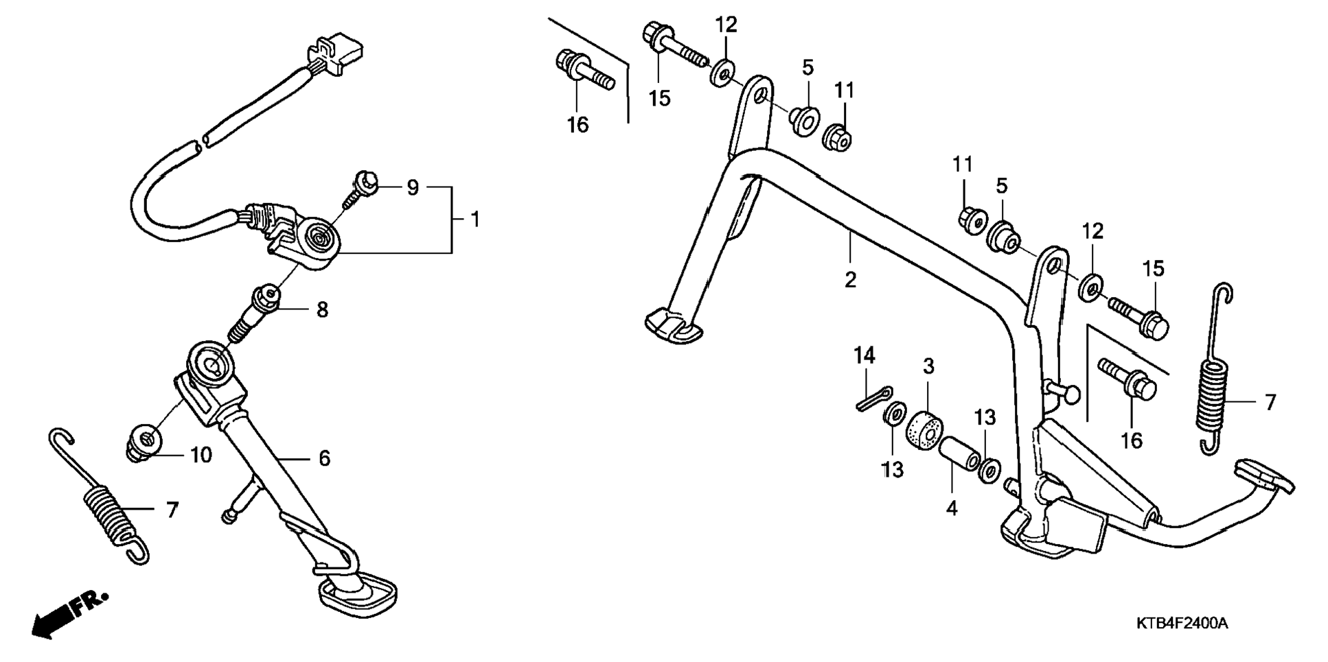
1 35700-MY1-315 Switch set, side stand 1 Узнать цены
2 50500-KTB-010 Stand, main 1 Узнать цены
3 50502-KAB-000 / 45-55 дней Rubber, main stand stopper 1 303 р.
4 50503-KAB-000 / 45-55 дней Collar, main stand stopper 1 306 р.
5 50504-KAB-010 / 45-55 дней Collar, main stand 2 698 р.
6 50530-KTB-000 / 45-55 дней Bar, side stand 1 7 158 р.
7 50542-MZ2-000 / 45-55 дней Spring, side stand 2 2 149 р.
8 90108-MK6-670 / 45-55 дней Bolt, side stand pivot 1 1 072 р.
9 90147-MCE-950 / 45-55 дней Bolt, special (6x16) 1 149 р.
10 90203-MF9-710 / 45-55 дней Nut, side stand 1 504 р.
11 90303-428-900 / 45-55 дней Nut, flange (10mm) 2 461 р.
12 94101-10700 / 45-55 дней Washer, plain (10mm) 2 149 р.
13 94102-08800 / 45-55 дней Washer, plain (8mm) 2 149 р.
14 94201-29220 / 45-55 дней Pin, split (2.0x20) 1 149 р.
14 94201-20220 / 45-55 дней Pin, split (2.0x22) 1 149 р.
14 94201-20350 / 45-55 дней Pin, split (2.0x25) 1 149 р.
15 95701-10035-07 / 45-55 дней Bolt, flange (10x35) 2 259 р.
16 93406-10035-07 / 45-55 дней Bolt-washer (10x35) 2 149 р.
Список узлов