Аккумулятор для Honda SH150I A 2010 г.

(BATTERY)
Доставка из США до Москвы 90 руб. за 100 грамм
Доставка
  • Доставка из США, ОАЭ или из Германии в Москву
  • Доставка со складов в Москве
Скидка 5% от суммы заказа более 30 000 руб.
Оплата
  • Наличный способ оплаты
  • Банковской картой Visa, Mastercard
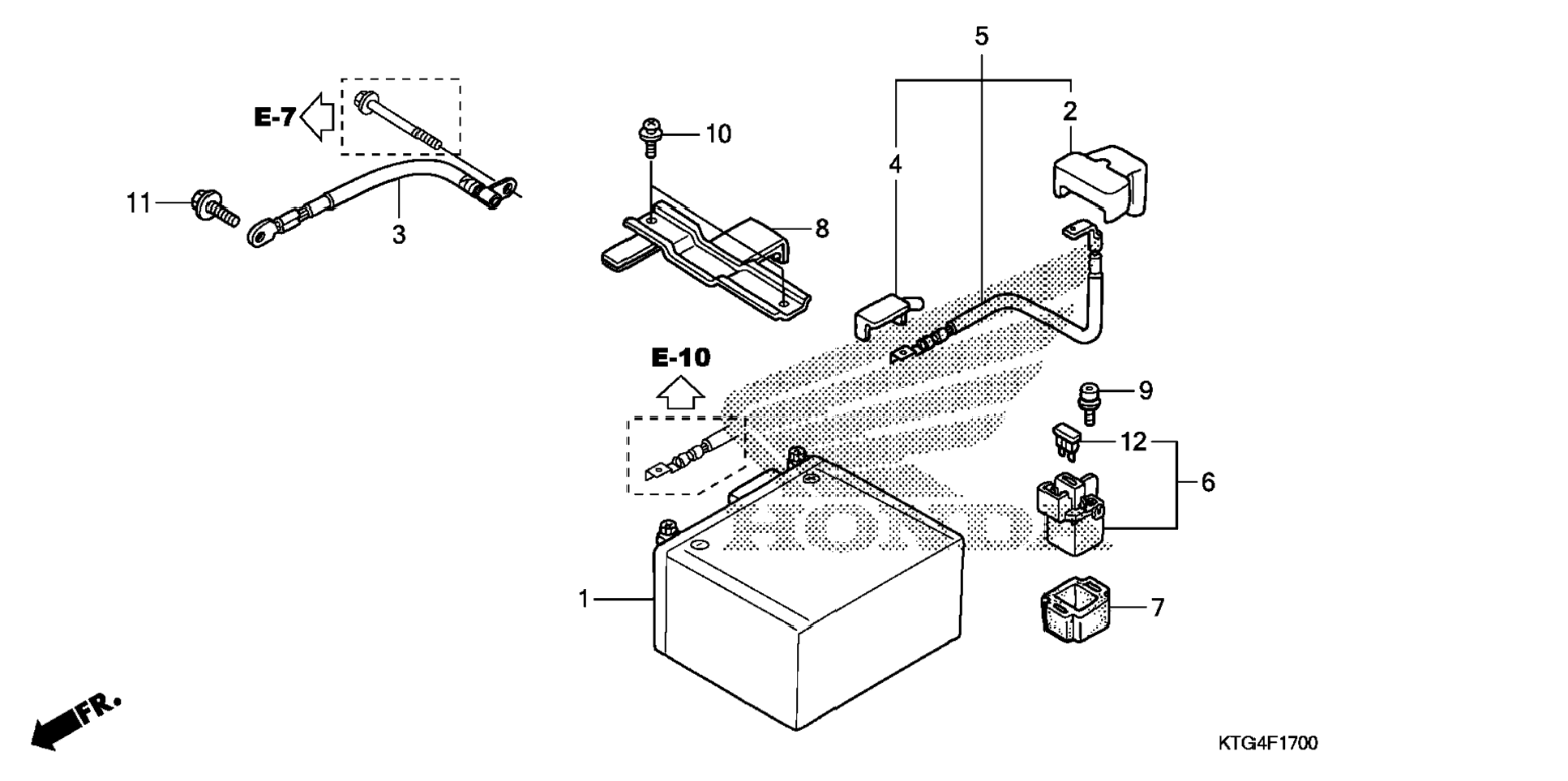
Номер запчасти,
наличие, срок поставки
Наименование Кол-во Цена
1 31500-KW3-676AH / 45-55 дней Battery (ytx7l-bs) (yuasa) (msds) 1 10 801 р.
2 32406-KPR-901 / 45-55 дней Cover, starter magnetic terminal 1 391 р.
3 32412-KPR-890 / 45-55 дней Cable, engine ground 1 4 558 р.
4 32416-KPR-900 / 45-55 дней Cover, battery terminal 1 485 р.
5 32417-KTF-980 Cable, starter battery 1 Узнать цены
6 35850-MT4-003 / 45-55 дней Switch assy., starter magnetic 1 10 366 р.
6 35850-MT4-000 / 45-55 дней Switch assy., starter magnetic 1 10 366 р.
7 35856-KAB-000 / 45-55 дней Rubber, shock 1 1 165 р.
8 64315-KTF-980 / 45-55 дней Band, battery 1 2 722 р.
9 90111-MR5-000 / 45-55 дней Bolt, socket (5x9) 2 327 р.
10 93891-05010-08 / 45-55 дней Screw-washer (5x10) 2 149 р.
11 95701-06014-00 / 45-55 дней Bolt, flange (6x14) 1 149 р.
12 98200-33000 / 45-55 дней Fuse, blade (30a) 1 164 р.
Список узлов