Переднее крыло для Honda NCW50 AC 2016 г.

(FRONT FENDER)
Доставка из США до Москвы 90 руб. за 100 грамм
Доставка
  • Доставка из США, ОАЭ или из Германии в Москву
  • Доставка со складов в Москве
Скидка 5% от суммы заказа более 30 000 руб.
Оплата
  • Наличный способ оплаты
  • Банковской картой Visa, Mastercard
Номер запчасти,
наличие, срок поставки
Наименование Кол-во Цена
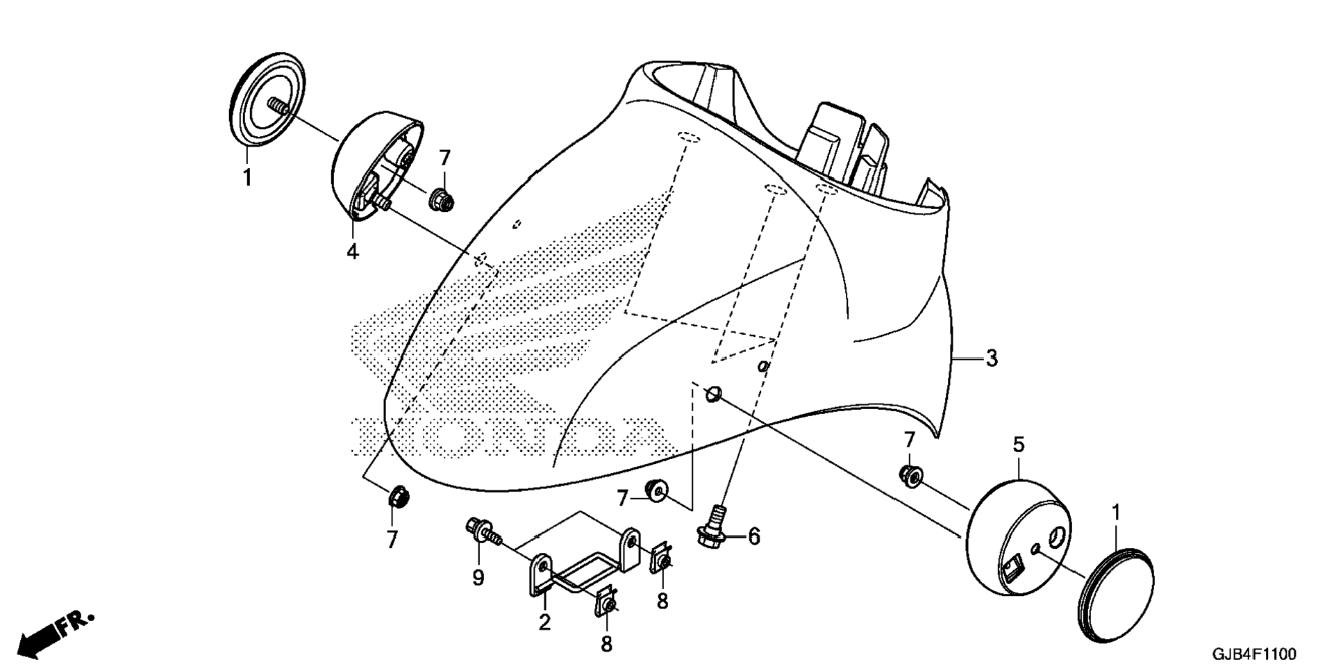
1 33741-KTG-U01 / 45-55 дней Reflector, fr. reflex (amber) 2 890 р.
2 45160-GJA-J00 / 45-55 дней Guide, brake cable 1 338 р.
3 61100-GJB-A00ZD / 45-55 дней Fender, fr. *nhb35p* (pearl jasmine white) 1 16 135 р.
3 61100-GJB-A00ZF / 45-55 дней Fender, fr. *b224p* (pearl mermaid blue) 1 16 135 р.
3 61100-GJB-A00ZG / 45-55 дней Fender, fr. *r201* (magna red) 1 16 135 р.
4 61101-GJB-A00 / 45-55 дней Base, r. fr. reflector 1 720 р.
5 61102-GJB-A00 / 45-55 дней Base, l. fr. reflector 1 720 р.
6 90111-KZL-A00 / 45-55 дней Bolt, special (6mm) 3 622 р.
7 90301-473-003 / 45-55 дней Nut, u (6mm) 4 561 р.
8 90677-KAN-961 / 45-55 дней Nut, clip (5mm) 2 561 р.
9 93401-05012-08 / 45-55 дней Bolt-washer (5x12) 2 202 р.
Список узлов