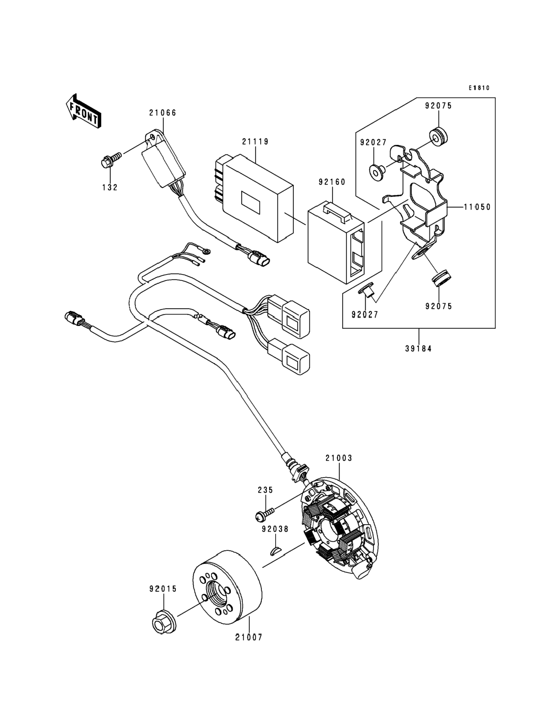
Генератор для Kawasaki KX250 (KX250-K5) 1998 г.

(Generator)
Доставка из США до Москвы 90 руб. за 100 грамм
Доставка
  • Доставка из США, ОАЭ или из Германии в Москву
  • Доставка со складов в Москве
Скидка 5% от суммы заказа более 30 000 руб.
Оплата
  • Наличный способ оплаты
  • Банковской картой Visa, Mastercard
Номер запчасти,
наличие, срок поставки
Наименование Кол-во Цена
132 132BA0610 / 45-55 дней Bolt-flanged-small 1 153 р.
235 235AA0616 / 45-55 дней Screw-pan-wp-cros 3 370 р.
11050 11050-1731 / 45-55 дней Bracket,igniter 1 1 414 р.
21003 21003-1380 / 45-55 дней Stator 1 46 691 р.
21007 21007-1382 / 45-55 дней Rotor 1 30 398 р.
21066 21066-1110 / 45-55 дней Regulator-voltage 1 7 062 р.
21119 21119-1522 / 45-55 дней Igniter 1 35 447 р.
39184 39184-1083 Bracket-assy,igniter 1 Узнать цены
92015 92015-1426 / 45-55 дней Nut,flanged,12mm 1 607 р.
92027 92027-1767 / 45-55 дней Collar 2 435 р.
92038 92038-001 / 45-55 дней Key,woodruff 1 398 р.
92075 92075-076 / 45-55 дней Damper 2 381 р.
92160 92160-1259 / 45-55 дней Damper,igniter 1 1 917 р.
Список узлов