Side Covers для Kawasaki KX250 (KX250-L2) 2000 г.

Доставка из США до Москвы 90 руб. за 100 грамм
Доставка
  • Доставка из США, ОАЭ или из Германии в Москву
  • Доставка со складов в Москве
Скидка 5% от суммы заказа более 30 000 руб.
Оплата
  • Наличный способ оплаты
  • Банковской картой Visa, Mastercard
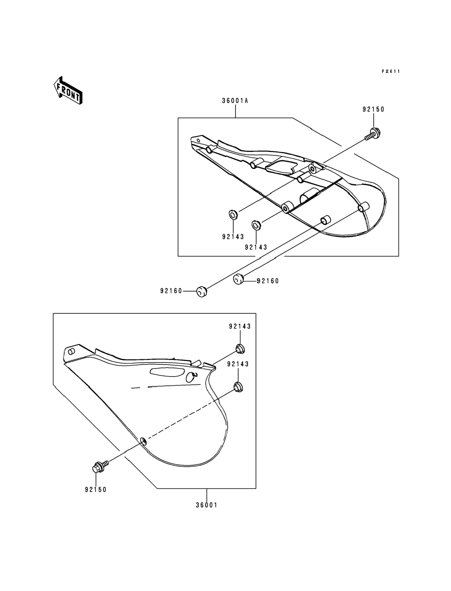
Номер запчасти,
наличие, срок поставки
Наименование Кол-во Цена
36001 36001-1656-6F / 45-55 дней Cover-side,lh,p.white 1 7 780 р.
36001A 36001-1657-6F / 45-55 дней Cover-side,rh,p.white 1 7 780 р.
92160 92160-1994 / 45-55 дней Damper 2 373 р.
Список узлов