Accessory для Kawasaki KX500 (KX500-E16) 2004 г.

Доставка из США до Москвы 90 руб. за 100 грамм
Доставка
  • Доставка из США, ОАЭ или из Германии в Москву
  • Доставка со складов в Москве
Скидка 5% от суммы заказа более 30 000 руб.
Оплата
  • Наличный способ оплаты
  • Банковской картой Visa, Mastercard
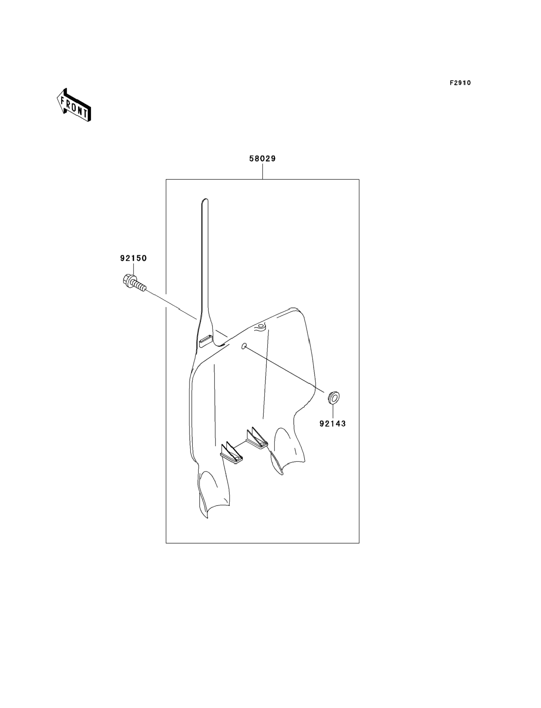
Номер запчасти,
наличие, срок поставки
Наименование Кол-во Цена
58029 58029-1078-266 / 45-55 дней Plate-number,s.white 1 11 279 р.
92143 92143-1196 / 45-55 дней Collar 1 375 р.
92150 92150-1340 / 45-55 дней Bolt,6x14 1 404 р.
Список узлов