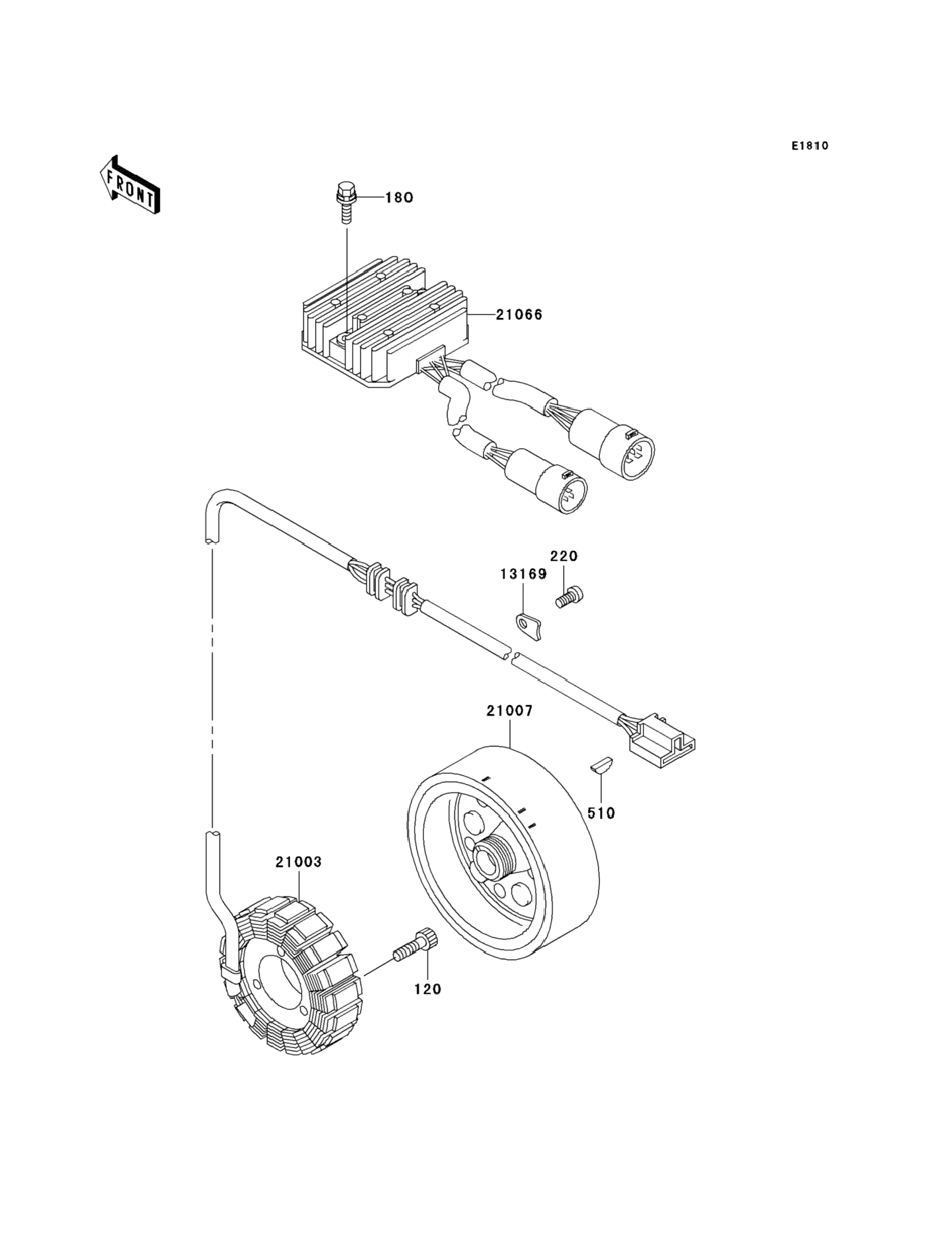
Генератор для Kawasaki PRAIRIE 400 (KVF400-D3) 2001 г.

(Generator)
Доставка из США до Москвы 90 руб. за 100 грамм
Доставка
  • Доставка из США, ОАЭ или из Германии в Москву
  • Доставка со складов в Москве
Скидка 5% от суммы заказа более 30 000 руб.
Оплата
  • Наличный способ оплаты
  • Банковской картой Visa, Mastercard
Номер запчасти,
наличие, срок поставки
Наименование Кол-во Цена
120 120CA0630 / 45-55 дней Bolt-socket,6x30 3 473 р.
180 180AA0630 / 45-55 дней Bolt-upset-ws,6x30 2 153 р.
220 220AA0610 / 45-55 дней Screw-pan-cros,6x10 1 239 р.
510 510A4200 / 45-55 дней Key-woodruff 1 223 р.
13169 13169-1788 / 45-55 дней Plate,harness 1 422 р.
21003 21003-1345 / 45-55 дней Stator 1 57 476 р.
21007 21007-1306 / 45-55 дней Rotor,generator 1 60 718 р.
21066 21066-0047 / 45-55 дней Regulator-voltage 1 26 132 р.
Список узлов