Carrier(s) для Kawasaki PRAIRIE 650 4X4 (KVF650-B2) 2003 г.

Доставка из США до Москвы 90 руб. за 100 грамм
Доставка
  • Доставка из США, ОАЭ или из Германии в Москву
  • Доставка со складов в Москве
Скидка 5% от суммы заказа более 30 000 руб.
Оплата
  • Наличный способ оплаты
  • Банковской картой Visa, Mastercard
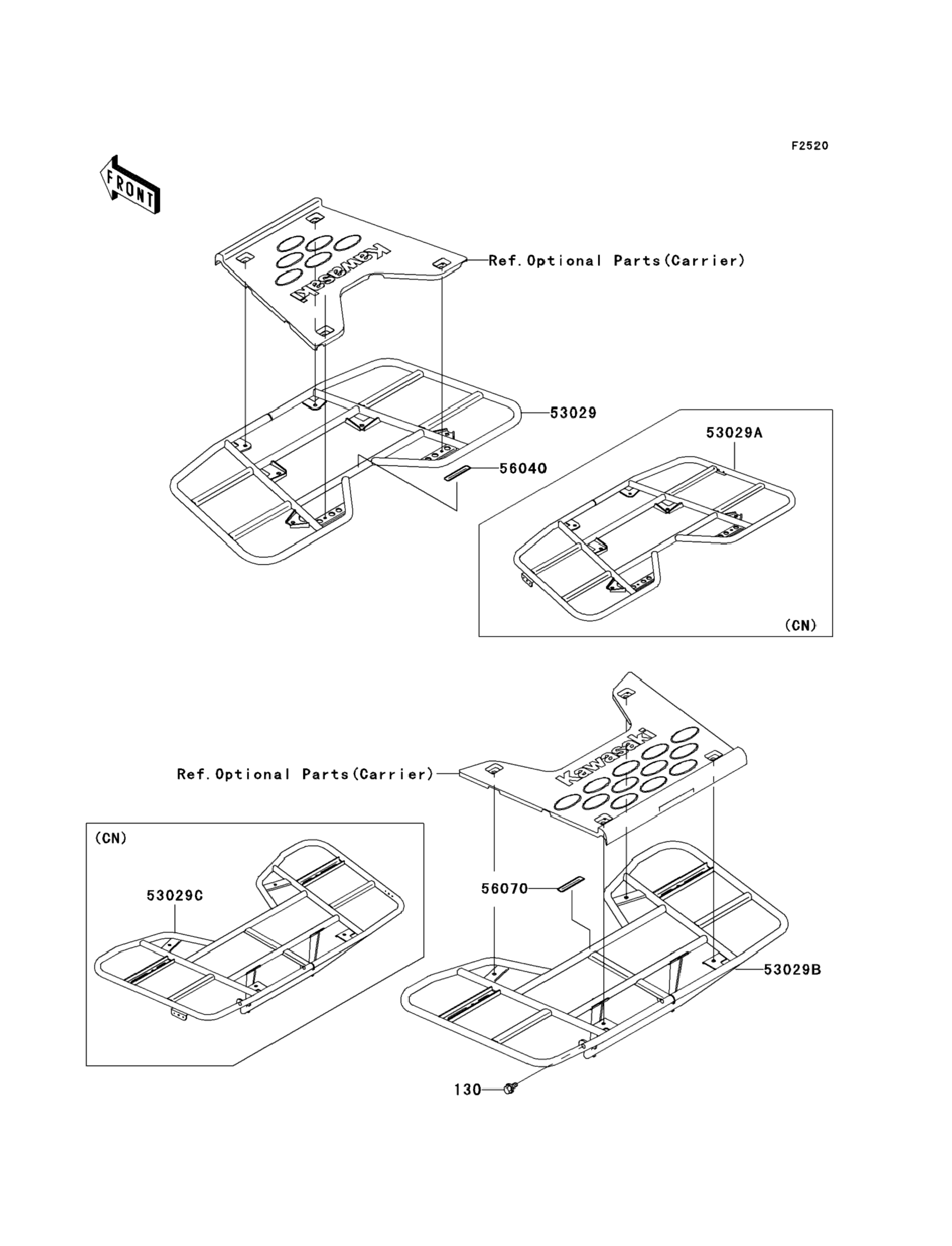
Номер запчасти,
наличие, срок поставки
Наименование Кол-во Цена
130 130CA1020 / 45-55 дней Bolt-flanged,10x20 2 165 р.
53029 53029-1235-UF / 45-55 дней Carrier,fr,s.gold us 1 16 207 р.
53029A 53029-1239-UF / 45-55 дней Carrier,fr,s.gold cn 1 14 169 р.
53029B 53029-1244-UF / 45-55 дней Carrier,rr,s.gold us 1 27 589 р.
53029C 53029-1245-UF / 45-55 дней Carrier,rr,s.gold cn 1 21 596 р.
56040 56040-1321 / 45-55 дней Label-warning,maximum load 1 294 р.
56070 56070-0041 / 45-55 дней Label-warning,maximum load 1 467 р.
Список узлов