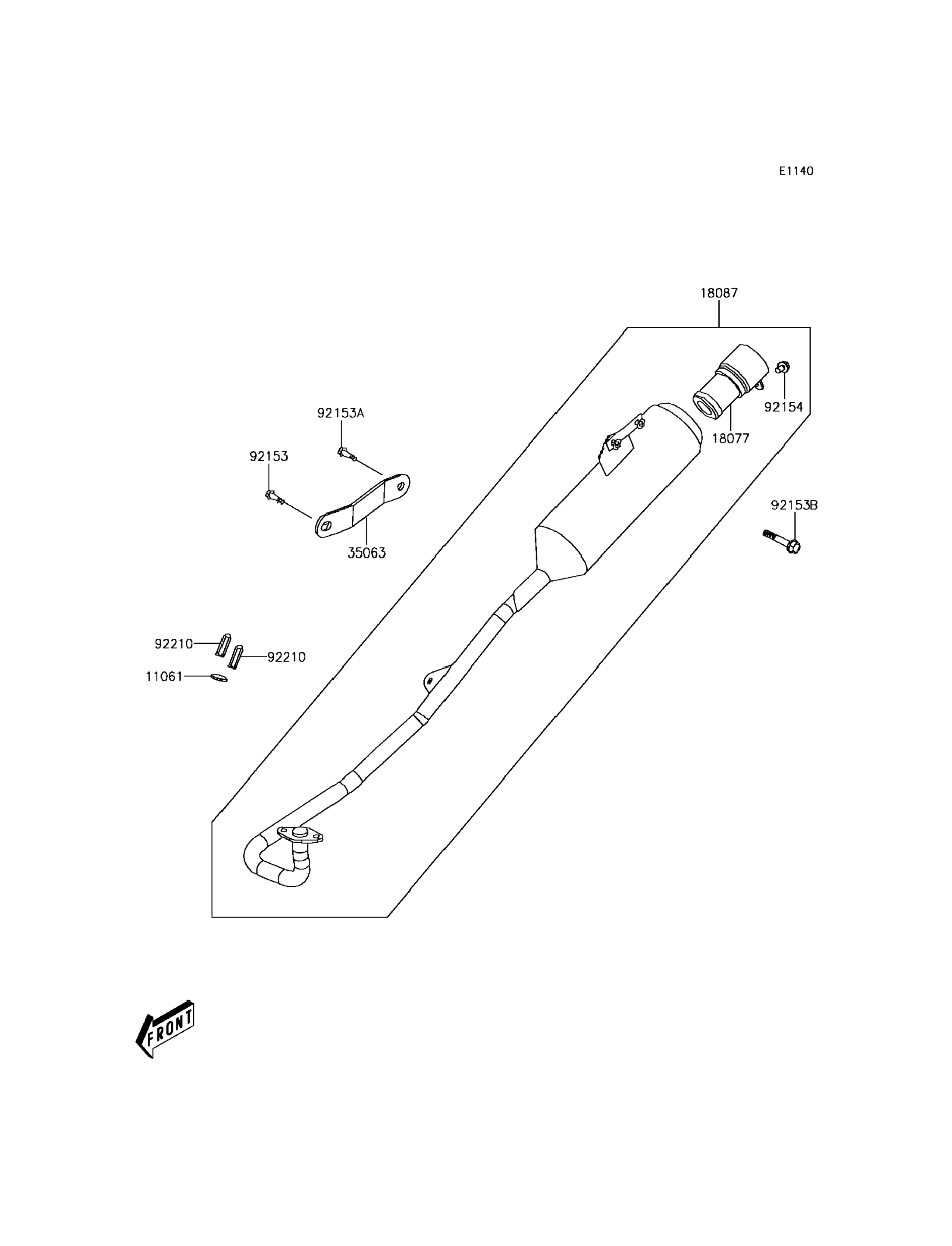
Глушитель(и) для Kawasaki KFX50 (KSF50BHF) 2017 г.

(Muffler(s))
Доставка из США до Москвы 90 руб. за 100 грамм
Доставка
  • Доставка из США, ОАЭ или из Германии в Москву
  • Доставка со складов в Москве
Скидка 5% от суммы заказа более 30 000 руб.
Оплата
  • Наличный способ оплаты
  • Банковской картой Visa, Mastercard
Номер запчасти,
наличие, срок поставки
Наименование Кол-во Цена
11061 11061-Y014 / 45-55 дней Gasket,exhaust 1 223 р.
18077 18077-Y002 / 45-55 дней Arrester-spark 1 8 671 р.
18087 18087-Y003 / 45-55 дней Muffler 1 29 941 р.
35063 35063-Y001 / 45-55 дней Stay,muffler 1 1 582 р.
92153 92153-Y020 / 45-55 дней Bolt,8x28 1 171 р.
92153B 92153-Y070 / 45-55 дней Bolt,flange,8x38 1 231 р.
92153A 92153-Y032 / 45-55 дней Bolt,flange,8x16 1 153 р.
92154 92154-Y013 / 45-55 дней Bolt,flange,6x10 1 153 р.
92210 92210-Y007 / 45-55 дней Nut,cap,6mm 2 304 р.
Список узлов