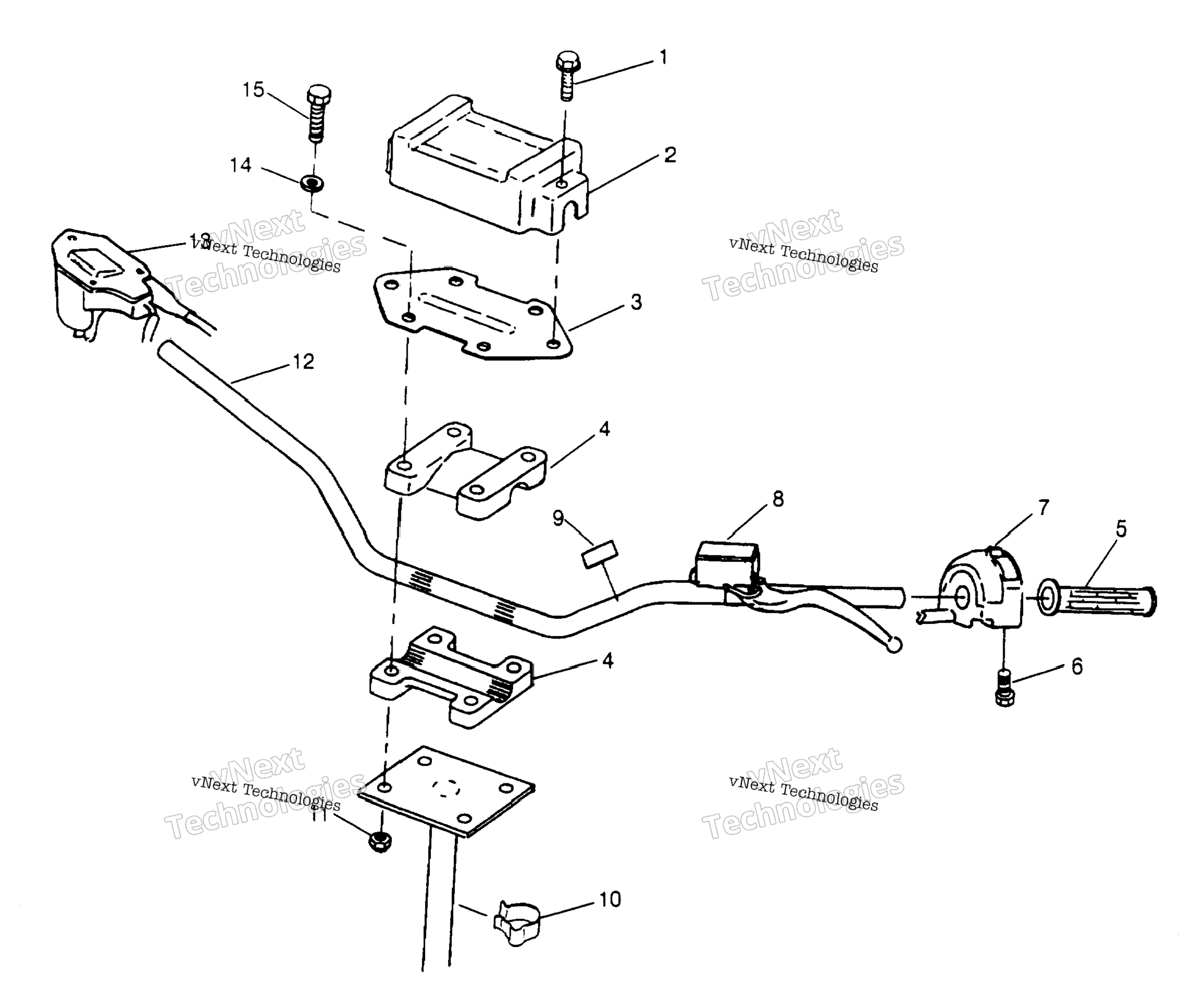
Steering Handlebar 2X4 300 для Polaris 300 2X4 (W947530) 1994 г.

Доставка из США до Москвы 90 руб. за 100 грамм
Доставка
  • Доставка из США, ОАЭ или из Германии в Москву
  • Доставка со складов в Москве
Скидка 5% от суммы заказа более 30 000 руб.
Оплата
  • Наличный способ оплаты
  • Банковской картой Visa, Mastercard
Номер запчасти,
наличие, срок поставки
Наименование Кол-во Цена
1 7515197 / 45-55 дней Screw 2 153 р.
2 5810379 / 45-55 дней Pad, handlebar 1 3 894 р.
3 5245051 / 45-55 дней Mount-handlebar pad 1 623 р.
4 5630187-067 / 45-55 дней Handlebar block, medium gloss b 2 5 536 р.
5 5433834-070 / 45-55 дней Handlebar grip, 7/8 id, gloss b 2 2 163 р.
6 2010055 Screw 1 Узнать цены
7 4110157 Switch,lh,h'bar(atv) 1 Узнать цены
8 ------- / 45-55 дней Asm., master cylinder (see pg. a22, ref. 26) 1 4 058 р.
9 7076274 Decal,o'ride sw.2wd 1 Узнать цены
10 7080278 / 45-55 дней Clip 1 286 р.
11 / 45-55 дней 1 4 058 р.
Список узлов