Навигация
Главная
Основной сайт
Поиск
Ski-Doo
Arctic Cat
Yamaha
Can-Am
Honda
Sea-Doo
Kawasaki
Suzuki
Polaris
BRP Lynx
Harley Davidson
Подобрать запчасти
Главная
Polaris
Side x Side
2019
A19SXM95AL SPORTSMAN XP 1000 HIGH LIFTER () (R06) (A19SXM95AL
Запчасти для Polaris A19SXM95AL SPORTSMAN XP 1000 HIGH LIFTER () (R06) (A19SXM95AL 2019 г.
BODY, CLUTCH COVER AND BOOTS - A19SXM95AL [100923]
BODY, CLUTCH DUCTS - A19SXM95AL [100924]
BODY, DECALS - A19SXM95AL [101569]
BODY, FOOTWELLS - A19SXM95AL [100125]
BODY, FRONT BUMPER and MOUNTING - A19SXM95AL [100143]
BODY, FRONT BUMPER SUPPORT - A19SXM95AL [100588]
BODY, FRONT BUMPER WINCH and MOUNTING - A19SXM95AL [100144]
BODY, FRONT CAB - A19SXM95AL [100606]
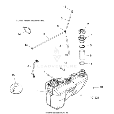
BODY, FUEL TANK - A19SXM95AL [101521]
BODY, GAUGE POD - A19SXM95AL [100123]
BODY, HEAT SHIELDS - A19SXM95AL [101310]
BODY, REAR BUMPER - A19SXM95AL [49ATVBUMPERRR09SPXP550]
BODY, REAR CAB and REAR RACK - A19SXM95AL [100605]
BODY, SEAT - A19SXM95AL [49ATVSEAT11SPXP850]
BODY, SHIELD, FRONT CAB - A19SXM95AL [101242]
BODY, SKID PLATES - A19SXM95AL [49ATVSKIDPLATE14SP550]
BODY, STORAGE, REAR - A19SXM95AL [100925]
BRAKES, BRAKE LINES - A19SXM95AL [101518]
BRAKES, BRAKE PEDAL and MASTER CYLINDER - A19SXM95AL [101519]
BRAKES, FRONT BRAKE LEVER and MASTER CYLINDER - A19SXM95AL [100921]
BRAKES, FRONT CALIPER - A19SXM95AL [100108]
BRAKES, REAR CALIPER - A19SXM95AL [100109]
CHASSIS, MAIN FRAME - A19SXM95AL [100587]
DRIVE TRAIN, DRIVE COUPLER - A19SXM95AL [100077]
DRIVE TRAIN, DRIVE SHAFT, FRONT - A19SXM95AL [101307]
DRIVE TRAIN, DRIVE SHAFT, REAR - A19SXM95AL [49ATVSHAFTDRIVERR1332642]
DRIVE TRAIN, FRONT GEARCASE INTERNALS - A19SXM95AL (1333391)
DRIVE TRAIN, GEAR SELECTOR - A19SXM95AL [49ATVGEARSELECT15850SP]
DRIVE TRAIN, GEARCASE MOUNTING, FRONT - A19SXM95AL [49ATVGEARCASEMTG15850SP]
DRIVE TRAIN, GEARCASE MOUNTING, REAR - A19SXM95AL [49ATVGEARCASEMTGRR09SPXP550]
DRIVE TRAIN, MAIN GEARCASE - A19SXM95AL [101568]
DRIVE TRAIN, PRIMARY CLUTCH - A19SXM95AL (100591)
DRIVE TRAIN, PROP SHAFT, FRONT - A19SXM95AL [101306]
DRIVE TRAIN, PROP SHAFT, REAR - A19SXM95AL [101304]
DRIVE TRAIN, REAR GEARCASE INTERNALS - A19SXM95AL [101512]
DRIVE TRAIN, SECONDARY CLUTCH - A19SXM95AL (101520)
ELECTRICAL, BATTERY - A19SXM95AL [100130]
ELECTRICAL, BULBS - A19SXM95AL [100127]
ELECTRICAL, GAUGES and INDICATORS - A19SXM95AL [100128]
ELECTRICAL, HARNESS - A19SXM95AL [100926]
ELECTRICAL, HEADLIGHTS - A19SXM95AL [100596]
ELECTRICAL, IGNITION SYSTEM - A19SXM95AL [100348]
ELECTRICAL, SWITCHES, SENSORS, ECU and CONTROL MODULES - A19SXM95AL [100927]
ELECTRICAL, TAILLIGHTS - A19SXM95AL [49ATVTAILLAMPS09SPTRG800]
ENGINE, AIR INTAKE - A19SXM95AL [100304]
ENGINE, BALANCE SHAFT - A19SXM95AL [49ATVBALANCESHAFT10SPXP850]
ENGINE, CAM CHAIN AND TENSIONER - A19SXM95AL [49ATVCAMCHAIN15850SP]
ENGINE, COOLING BYPASS - A19SXM95AL [100350]
ENGINE, COOLING SYSTEM and WATER PUMP - A19SXM95AL [100598]
ENGINE, COOLING SYSTEM, FANS AND SHROUDS - A19SXM95AL [100603]
ENGINE, COOLING SYSTEM, RADIATOR - A19SXM95AL [100604]
ENGINE, CRANKCASE - A19SXM95AL [49ATVCRANKCASE14SCRAM]
ENGINE, CRANKSHAFT and PISTON - A19SXM95AL [49ATVCRANKSHAFT14SCRAM]
ENGINE, CYLINDER HEAD, CAM and VALVES - A19SXM95AL [49ATVCYLINDER13SPXP850]
ENGINE, EXHAUST - A19SXM95AL [100922]
ENGINE, OIL SYSTEM - A19SXM95AL [49ATVOIL09SPXP850]
ENGINE, STARTING SYSTEM - A19SXM95AL (C101431-29)
ENGINE, THROTTLE BODY - A19SXM95AL (C102214)
ENGINE, TRANSMISSION MOUNTING & LONG BLOCK - A19SXM95AL (100742)
ENGINE, VALVE COVER - A19SXM95AL [49ATVVALVE12SPTRGEPS850]
REFERENCE TOOL KIT AND OWNERS MANUAL - A19SXM95AL [C102681]
STEERING, CONTROLS, THROTTLE ASM. and CABLE - A19SXM95AL [49ATVCONTROLS15850SP]
STEERING, HANDLEBAR and CONTROLS - A19SXM95AL [100131]
STEERING, STEERING HOOP - A19SXM95AL [100146]
STEERING, STEERING POST ASM. - A19SXM95AL [49ATVSTEERING15850]
SUSPENSION, FRONT A-ARMS - A19SXM95AL [100114]
SUSPENSION, REAR - A19SXM95AL [100110]
SUSPENSION, SHOCK, FRONT - A19SXM95AL [49ATVSHOCKFRT7043168]
SUSPENSION, SHOCK, REAR - A19SXM95AL [49ATVSHOCKRR7043169]
WHEELS, FRONT and HUB - A19SXM95AL [100135]
WHEELS, REAR and HUB - A19SXM95AL [100134]