Console Ultra 0976778 & European Ultra для Polaris EURO ULTRA (E976778) 1997 г.

Доставка из США до Москвы 90 руб. за 100 грамм
Доставка
  • Доставка из США, ОАЭ или из Германии в Москву
  • Доставка со складов в Москве
Скидка 5% от суммы заказа более 30 000 руб.
Оплата
  • Наличный способ оплаты
  • Банковской картой Visa, Mastercard
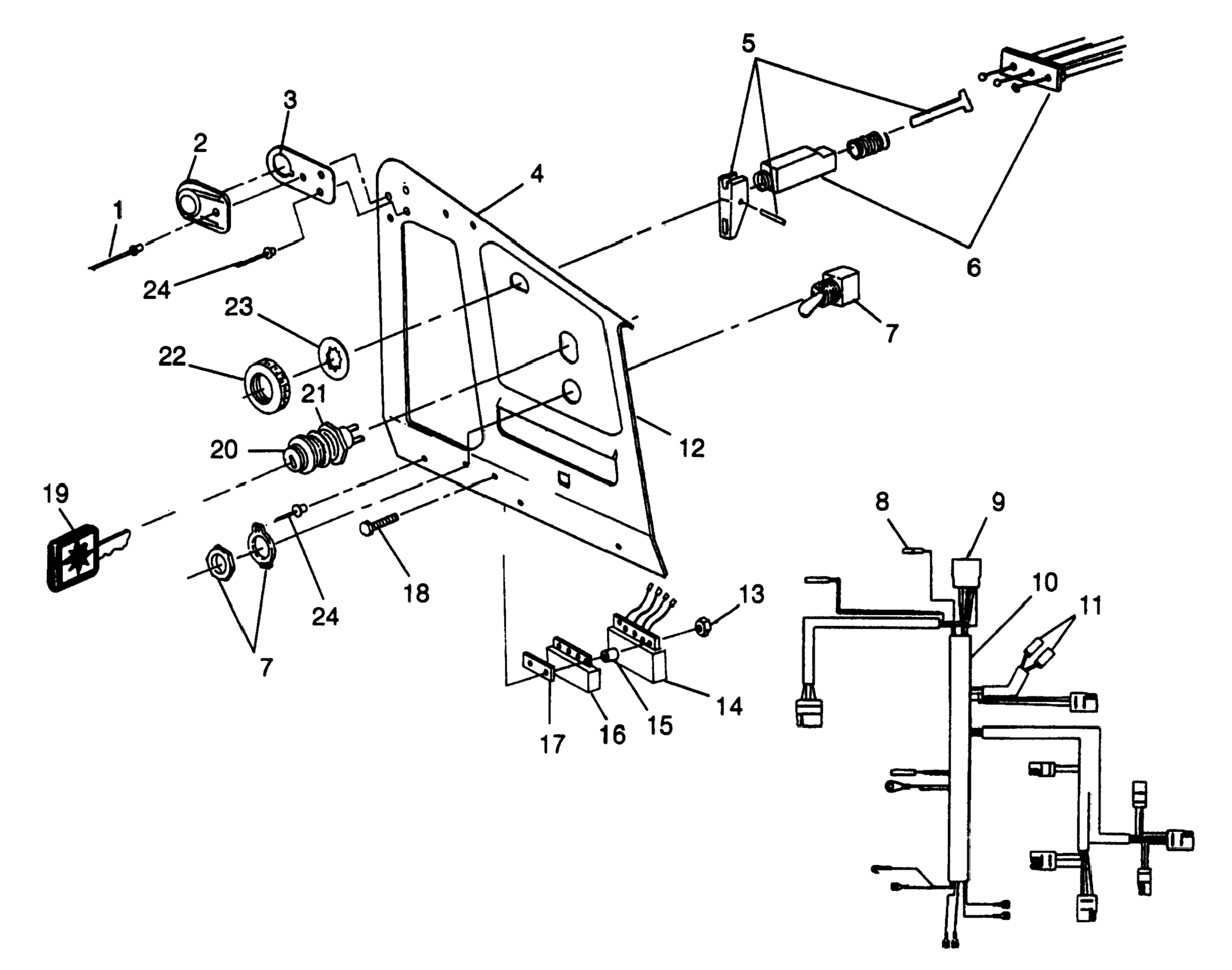
Номер запчасти,
наличие, срок поставки
Наименование Кол-во Цена
1 7661130 / 45-55 дней Rivet(50) 1 149 р.
2 5431385 / 45-55 дней Guide, recoil 1 1 150 р.
3 5222682-067 Brkt,rope guide,blk. 1 Узнать цены
4 5222756-067 Console 1 Узнать цены
4 9999999 Console 1 Узнать цены
5 2200189 / 45-55 дней Kit,choke control (incl. 22) 1 2 213 р.
6 7080283 / 45-55 дней Cable, choke 1 13 569 р.
7 4110113 / 45-55 дней Sw,grip,heater-hi/lo 1 7 644 р.
8 4020133 / 45-55 дней Housing 1 210 р.
9 4020057 / 45-55 дней Housing w/receptacle 1 381 р.
10 2460580 Harness,main wire(euro) (euro) 1 Узнать цены
10 2460579 Harness,main wire (us) 1 Узнать цены
11 4020153 / 45-55 дней Housing 2 149 р.
12 7073075 Decal, console 1 Узнать цены
13 7541925 / 45-55 дней Nut(10) 2 149 р.
14 4110197 Switch,exh.temp 1 Узнать цены
15 5020864 Spacer 1 Узнать цены
16 2203873 / 45-55 дней Regulator,(14.3vac),lr-7 1 10 633 р.
17 5211573 Spacer,regulator 1 Узнать цены
18 7517263 / 45-55 дней Screw, hx/sems 2 372 р.
19 9990000 Key,ignition,w/cap [cannot purchase as assembly] 1 Узнать цены
20 2410009 Kit,ign. switch (incl. 19, 21) 1 Узнать цены
20 2200357 Kit,ign. switch (incl. 19, 21) 1 Узнать цены
21 7543101 Nut, ign.switch(10) 1 Узнать цены
22 7080229 / 45-55 дней Nut 1 2 172 р.
23 7571610 / 45-55 дней Washer-lock(10) 1 434 р.
24 7661638 / 45-55 дней Rivet,interlock,b(50) 5 149 р.
Список узлов