Primer для Polaris 600 XC (099SB6DS) 1999 г.

Доставка из США до Москвы 90 руб. за 100 грамм
Доставка
  • Доставка из США, ОАЭ или из Германии в Москву
  • Доставка со складов в Москве
Скидка 5% от суммы заказа более 30 000 руб.
Оплата
  • Наличный способ оплаты
  • Банковской картой Visa, Mastercard
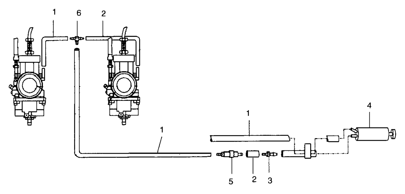
Номер запчасти,
наличие, срок поставки
Наименование Кол-во Цена
1 8360009-600 / 45-55 дней Fuel line,1/8 id,600 cm. 1 4 428 р.
2 8450037-600 / 45-55 дней Fuel line,3/16 id(600 cm.) 1 8 201 р.
3 7052188 / 45-55 дней Adapter,3/16"-1/8",(10) 1 170 р.
4 3160113 Primer,piston 1 Узнать цены
5 7051019 Valve,check,in-line 1 Узнать цены
6 7052048 / 45-55 дней Fitting, tee,(10) 1 434 р.
Список узлов
Ski