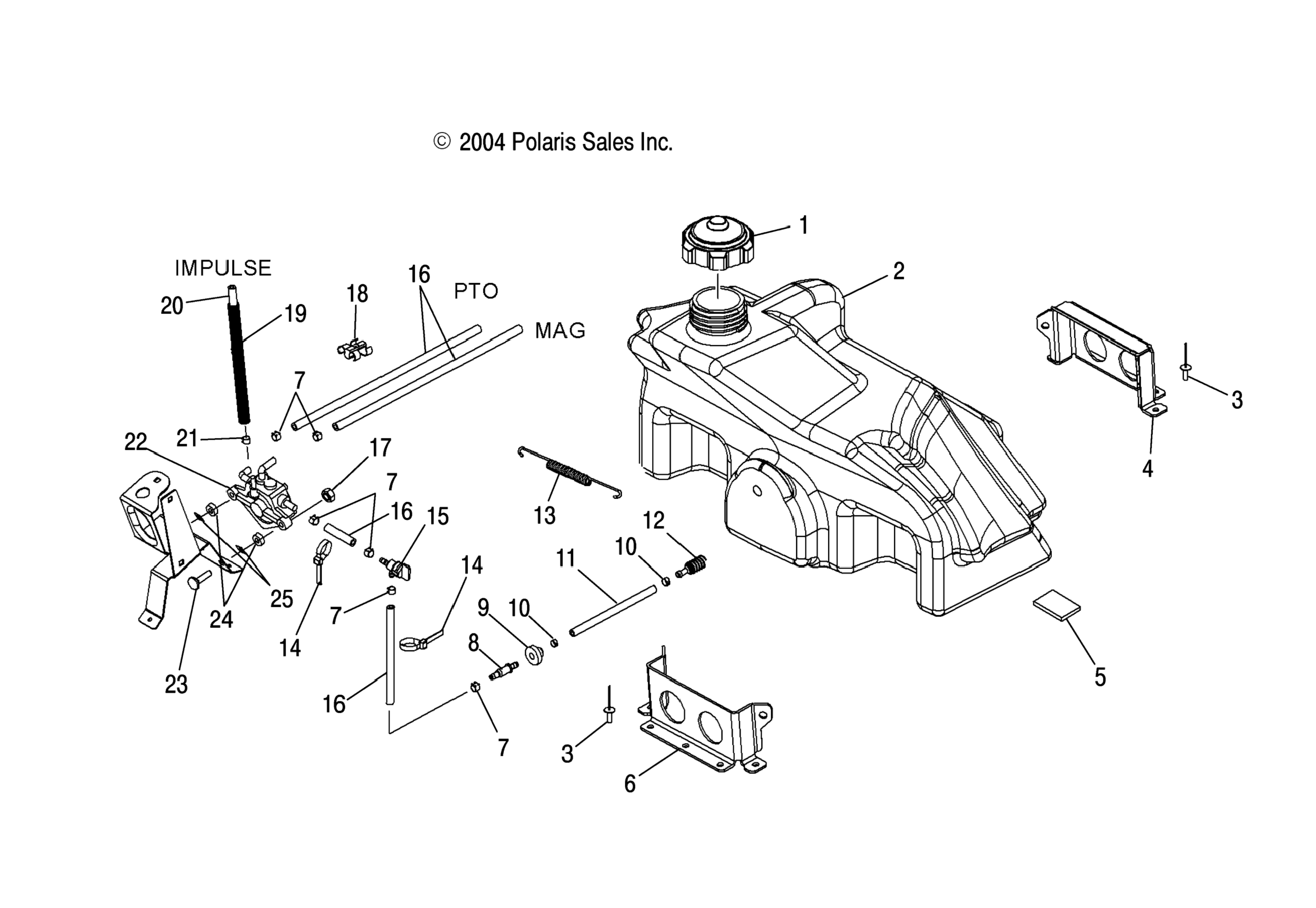
| № | Номер запчасти, наличие, срок поставки |
Наименование | Кол-во | Цена |
| 1 | 2520296 / 45-55 дней | Cap, gas, vented | 1 | 6 643 р. |
| 2 | 2683578 / 45-55 дней | Asm., tank cover | 1 | 4 952 р. |
| 2 | 2520402 | Asm., fuel tank [incl. 12] | 1 | Узнать цены |
| 3 | 7661637 / 45-55 дней | Rivet | 10 | 149 р. |
| 4 | 5246117 / 45-55 дней | Bracket, tank hold down, rear | 1 | 6 777 р. |
| 5 | 5810947 / 45-55 дней | Foam, seal | 2 | 442 р. |
| 6 | 5246118 / 45-55 дней | Bracket, tank hold down, front | 1 | 5 385 р. |
| 7 | 7080307 / 45-55 дней | Clamp, hose | 8 | 149 р. |
| 8 | 7052375 | Fitting | 1 | Узнать цены |
| 9 | 5435941 / 45-55 дней | Grommet | 1 | 832 р. |
| 10 | 7080402 / 45-55 дней | Ring, compression | 2 | 176 р. |
| 11 | 8350019-160 / 45-55 дней | Line, fuel | 1 | 3 985 р. |
| 12 | 7052301 / 45-55 дней | Pickup w/filter, fuel | 1 | 1 415 р. |
| 13 | 7081061 / 45-55 дней | Spring | 1 | 3 475 р. |
| 14 | 7080138 / 45-55 дней | Cable tie | 2 | 149 р. |
| 15 | 7052249 / 45-55 дней | Valve, fuel | 1 | 2 657 р. |
| 16 | 8450117-250 / 45-55 дней | Line, fuel | 1 | 6 358 р. |
| 17 | 7542122 / 45-55 дней | Nut, nylok | 2 | 149 р. |
| 18 | 7080525 | T-clip | 1 | Узнать цены |
| 19 | 8360052-305 / 45-55 дней | Tubing, convoluted | 1 | 3 100 р. |
| 20 | 8450040-600 / 45-55 дней | Line, fuel | 1 | 7 531 р. |
| 21 | 7080003 / 45-55 дней | Clamp, hose | 2 | 149 р. |
| 22 | 2520306 | Pump, fuel | 1 | Узнать цены |
| 23 | 7512275 / 45-55 дней | Bolt, carriage | 2 | 434 р. |
| 24 | 7555932 / 45-55 дней | Washer, nylon | 2 | 259 р. |
| 25 | 7670021 / 45-55 дней | Nut, speed | 2 | 970 р. |